|
МИНИСТЕРСТВО РЕГИОНАЛЬНОГО РАЗВИТИЯ
КРОВЛИ Актуализированная редакция СНиП II-26-76 Москва 2011 ПРЕДИСЛОВИЕ Цели и принципы стандартизации в Российской Федерации установлены Федеральным законом от 27 декабря 2002 г. № 184-ФЗ «О техническом регулировании», а правила разработки - постановлением Правительства Российской Федерации «О порядке разработки и утверждения сводов правил» от 19 ноября 2008 г. № 858. Сведения о своде правил 1 ИСПОЛНИТЕЛИ - Центральный научно-исследовательский и проектно-экспериментальный институт промышленных зданий и сооружений (ОАО «ЦНИИПромзданий») 2 ВНЕСЕН Техническим комитетом по стандартизации ТК 465 «Строительство» 3 ПОДГОТОВЛЕН к утверждению Департаментом архитектуры, строительства и градостроительной политики 4 УТВЕРЖДЕН приказом Министерства регионального развития Российской Федерации (Минрегион России) от 27 декабря 2010 г. № 784 и введены в действие с 20 мая 2010 г. 5 ЗАРЕГИСТРИРОВАН Федеральным агентством по техническому регулированию и метрологии (Росстандарт). Пересмотр СП 17.13330.2010 Информация об изменениях к настоящему своду правил публикуется в ежегодно издаваемом информационном указателе «Национальные стандарты», а текст изменений и поправок - в ежемесячно издаваемых информационных указателях «Национальные стандарты». В случае пересмотра (замены) или отмены настоящего свода правил соответствующее уведомление будет опубликовано в ежемесячно издаваемом информационном указателе «Национальные стандарты». Соответствующая информация, уведомление и тексты размещаются также в информационной системе общего пользования - на официальном сайте разработчика (Минрегион России) в сети Интернет. СОДЕРЖАНИЕ ВведениеВ своде правил приведены требования, соответствующие целям части 6 статьи 3 Федерального закона от 30 декабря 2009 г. № 384-ФЗ «Технический регламент о безопасности зданий и сооружений». Работа выполнена ОАО «ЦНИИПромзданий»: проф., д-р техн. наук В.В. Гранев, проф., канд. техн. наук С.М. Гликин, кандидаты техн. наук А.М. Воронин, А.В. Пешкова, Н.Н. Щербак. СВОД ПРАВИЛ КРОВЛИ The roofs Дата введения 2011-05-20 1 Область примененияНастоящий свод правил распространяется на проектирование кровель из битумных, битумно-полимерных, эластомерных и термопластичных рулонных материалов, из мастик с армирующими прокладками, хризотилцементных, цементноволокнистых, и битумных волнистых листов, цементно-песчаной, керамической, полимерцементной и битумной черепицы, плоских, хризотилцементных, композитных, цементноволокнистых и сланцевых плиток, листовой оцинкованной стали, меди, цинк-титана, алюминия, металлического профлиста, металлочерепицы, а также железобетонных лотковых панелей, применяемых в зданиях различного назначения и во всех климатических зонах Российской Федерации. Возможность применения других подобных материалов должна быть подтверждена в порядке, установленном законодательством Российской Федерации в области технического регулирования. Настоящие нормы и правила распространяются на реконструкцию и капитальный ремонт покрытия (крыши) с кровлей из вышеуказанных материалов. 2 Нормативные ссылкиВ настоящем своде правил использованы ссылки на нормативные документы, перечень которых приведен в приложении А. Примечание - При пользовании настоящим сводом правил целесообразно проверить действие ссылочных стандартов и классификаторов в информационной системе общего пользования - на официальном сайте национальных органов Российской Федерации по стандартизации в сети Интернет или по ежегодно издаваемому информационному указателю «Национальные стандарты», который опубликован по состоянию на 1 января текущего года, и по соответствующим ежемесячно издаваемым информационным указателям, опубликованным в текущем году. Если ссылочный документ заменен (изменен), то при пользовании настоящим сводом правил следует руководствоваться замененным (измененным) документом. Если ссылочный документ отменен без замены, то положение, в котором дана ссылка на него, применяется в части, не затрагивающей эту ссылку. 3 Термины и определенияВ данном документе использованы термины, определения которых приведены в приложении Б, а также другие термины, определения которых приняты по нормативным документам, перечисленным в приложении А. 4 Общие положения4.1 Настоящие нормы необходимо соблюдать при проектировании кровель зданий и сооружений различного назначения в целях обеспечения требований Федерального закона от 30 декабря 2009 г. № 384-ФЗ «Технический регламент о безопасности зданий и сооружений», Федерального закона от 22 июля 2008 г. № 123-ФЗ «Технический регламент о требованиях пожарной безопасности» и Федерального закона от 23 ноября 2009 г. № 261-ФЗ «Об энергосбережении и о повышении энергетической эффективности и о внесении изменений в отдельные законодательные акты, Российской Федерации». При проектировании кровель, кроме настоящих норм, должны выполняться требования действующих норм проектирования зданий и сооружений, техники безопасности и правил по охране труда. 4.2 Материалы, применяемые для кровель и основания под кровлю, должны отвечать требованиям действющих документов в области стандартизации. 4.3 Предпочтительные уклоны кровель в зависимости от применяемых материалов приведены в таблице 1; в ендовах уклон кровли принимают в зависимости от расстояния между воронками, но не менее 0,5 %. Таблица 1
Во избежание образования со стороны холодного чердака конденсата на поверхностях вышеуказанных кровель должна быть обеспечена естественная вентиляция чердака через отверстия в кровле (коньки, хребты, карнизы, слуховые окна, вытяжные патрубки и т.п.), суммарная площадь которых принимается не менее 1/300 площади горизонтальной проекции кровли. 4.5 Высота вентилируемых каналов и размеры входных и выходных вентотверстий канала зависят от уклона, площади кровли и влажности внутренних слоев крыши (таблица 2). Таблица 2
4.6 В кровлях из металлических листов (кроме алюминиевых), укладываемых по сплошному настилу, между листами и настилом следует предусматривать объемную диффузионную мембрану (ОДМ) для отвода конденсата. 4.7 Несущие конструкции крыш (фермы, стропила, обрешетку и т.п.) предусматривают деревянными, стальными или железобетонными, которые должны соответствовать требованиям СП 16.13330, СП 64.13330 и СНиП 2.03.02. В утепленных крышах с применением легких стальных тонкостенных конструкций (ЛСТК) стропила следует предусматривать из термопрофиля для повышения теплотехнических свойств конструкции. 4.8 Высоту ограждений кровли предусматривают в соответствии с требованиями ГОСТ 25772, СП 54.13330, СП 56.13330 и СНиП 31-06. При проектировании кровель необходимо также предусматривать другие специальные элементы безопасности, к которым относятся крюки для навешивания лестниц, элементы для крепления страховочных тросов, ступени, подножки, стационарные лестницы и ходовые трапы, эвакуационные платформы и др., а также элементы молниезащиты зданий. 4.9 На покрытиях (крышах) высотных зданий (более 75 м [1]) из-за повышенного воздействия ветровой нагрузки предпочтительна сплошная приклейка кровельного ковра к основанию из плотных малопористых материалов (цементно-песчаной или асфальтовой стяжки, пеностекла и т.п.), теплоизоляционные плиты должны быть приклеены к пароизоляции, а пароизоляционный слой к несущей конструкции. Допускается свободная укладка кровельного ковра с пригрузом бетонными плитками на растворе или бетонным слоем, вес которых определяют расчетом на ветровую нагрузку. 4.10 При проектировании эксплуатируемых кровель покрытие должно быть проверено расчетом на действие дополнительных нагрузок от оборудования, транспорта, людей и т.п. в соответствии с СП 20.13330. 4.11 В кровлях с несущим металлическим профилированным настилом и теплоизоляционным слоем из материалов групп горючести Г2 - Г4 должно быть предусмотрено заполнение пустот гофр настилов на длину 250 мм материалами группы горючести НГ в местах примыкания настилов к стенам, деформационным швам, стенкам фонарей, а также с каждой стороны конька и ендовы кровли. В случае, если для утепления кровли применяется два и более слоев утепления с разными показателями горючести, необходимость заполнения гофр настилов определяется группой горючести нижнего слоя теплоизоляционного материала. Заполнение пустот гофр насыпным утеплителем не допускается. 4.12 Передача динамических нагрузок на кровлю от аппаратов и оборудования, установленных на покрытии (крыше), не допускается. 4.13 При реконструкции совмещенного покрытия (крыши), в случае невозможности сохранения существующей теплоизоляции по показателям прочности и влажности, она должна быть заменена; в случае превышения допустимой влажности теплоизоляции, но удовлетворительной прочности, предусматривают мероприятия, обеспечивающие ее естественную сушку в процессе эксплуатации кровли. Для этого в толще утеплителя и/или стяжке либо в дополнительной теплоизоляции (определяемой по СП 50.13330) в двух взаимно перпендикулярных направлениях следует предусматривать каналы, сообщающиеся с наружным воздухом через вентотверстия в карнизах, продухи у парапетов, торцевых стен, возвышающихся над кровлей частей зданий, а также через аэрационные патрубки, установленные над местом пересечения каналов. Количество патрубков и время сушки следует определять расчетом (приложение В). 4.14 Для исключения вздутий в кровельном ковре допускается предусматривать полосовую или точечную приклейку нижнего слоя ковра из рулонных материалов. 4.15 В рабочих чертежах покрытия (крыши) зданий необходимо указывать: конструкцию кровли, наименование и марки материалов и изделий со ссылками на документы в области стандартизации; величину уклонов, места установки водосточных воронок и расположение деформационных швов: детали кровель в местах установки водосточных воронок, водоотводящих желобов и примыканий к стенам, парапетам, вентиляционным и лифтовым шахтам, карнизам, трубам, мансардным окнам и другим конструктивным элементам. В рабочих чертежах строительной части проекта должно быть указано на необходимость разработки мероприятий по противопожарной защите, контролю за выполнением правил пожарной безопасности и правил техники безопасности при производстве строительно-монтажных работ. 5 Кровли рулонные и мастичные5.1 Рулонные кровли предусматривают из битумных и битумно-полимерных материалов с картонной, стекловолокнистой и комбинированной основами и основой из полимерных волокон, из эластомерных материалов, ТПО-мембран, ПВХ-мембран и им подобных рулонных кровельных материалов, отвечающих требованиям ГОСТ 30547, а мастичные кровли - из битумных, битумно-полимерных, битумно-резиновых, битумно-эмульсионных или полимерных мастик, отвечающих требованиям ГОСТ 30693, с армирующими стекловолокнистыми материалами или прокладками из полимерных волокон. 5.2 Кровли из рулонных и мастичных материалов могут быть выполнены в традиционном (при расположении водоизоляционного ковра над теплоизоляцией) и инверсионном (при расположении водоизоляционного ковра под теплоизоляцией) вариантах (приложение Г). 5.3 Конструктивное решение покрытия с кровлей в инверсионном варианте включает: железобетонные сборные или монолитные плиты, стяжку из цементно-песчаного раствора или уклонообразующий слой, например из легкого бетона, грунтовку, водоизоляционный ковер, однослойную теплоизоляцию, предохранительный (фильтрующий) слой, пригруз из гравия или бетонных плиток. В инверсионной кровле в качестве теплоизоляции должны применяться только плиты с низким водопоглощением (не более 0,7 % по объему за 28 сут), например, экструдированный пенополистирол. 5.4 В эксплуатируемых и инверсионных кровлях с почвенным слоем и системой озеленения водоизоляционный ковер должен быть выполнен из материалов, стойких к гниению и повреждению корнями растений. В кровле из материалов, не стойких к прорастанию корнями растений предусматривают противокорневой слой. 5.5 Количество слоев водоизоляционного ковра зависит от уклона кровли, показателя гибкости и теплостойкости применяемого материала и должно приниматься с учетом рекомендаций, изложенных в таблицах Д.1 - Д.3 приложения Д. Мастичные кровли рекомендуется применять преимущественно в новом строительстве при сложном рельефе покрытия, а также при ремонте существующих кровель. 5.6 Основанием под водоизоляционный ковер могут служить ровные поверхности: железобетонных несущих плит, швы между которыми заделаны цементно-песчаным раствором марки не ниже 100 или бетоном класса не ниже В7,5; теплоизоляционных плит, которые должны обладать устойчивостью к органическим растворителям (бензин, этилацетон, нефрас и др.) холодных мастик и стойкостью к воздействию температур горячих мастик; теплоизоляционные плиты из пенополистирола и других горючих утеплителей могут быть применены при выполнении условий 5.11. Теплоизоляционные плиты из пеностекла, пенополистирола и минераловатных плит могут иметь выполненную в заводских условиях наклоненную поверхность, обеспечивающую уклон водоизоляционному ковру; монолитной теплоизоляции из легких бетонов, а также материалов на основе цементного или битумного вяжущего с эффективными заполнителями - перлита, вермикулита, пенопластовых гранул и др.; выравнивающих монолитных стяжек из цементно-песчаного раствора и асфальтобетона, а также сборных (сухих) стяжек из двух хризотилцементных плоских прессованных листов толщиной 10 мм по ГОСТ 18124 или из двух цементно-стружечных плит толщиной 12 мм по ГОСТ 26816, скрепляемых шурупами таким образом, чтобы стыки плит в разных слоях не совпадали. 5.7 Возможность применения утеплителя в качестве основания под водоизоляционный ковер (без устройства по нему выравнивающей стяжки) должна устанавливаться расчетом на действующие на кровлю нагрузки с учетом упругих характеристик теплоизоляции (пределу прочности, относительному удлинению, модулю упругости). Толщину и армирование цементно-песчаной стяжки, используемой в качестве площадки под оборудование, стоянку для автомобилей и т.п. и укладываемой на легкие теплоизоляционные плиты (минераловатные, пенополистирольные, стекловолокнистые) также устанавливают расчетом с учетом упругих характеристик теплоизоляционных плит. 5.8 Между цементно-песчаной стяжкой и пористой (волокнистой) теплоизоляцией должен быть предусмотрен разделительный слой из рулонного материала, исключающий увлажнение утеплителя во время устройства стяжки или повреждение поверхности хрупкого утеплителя (например, из пеностекла). 5.9 В выравнивающих стяжках должны быть предусмотрены температурно-усадочные швы шириной до 10 мм, разделяющие стяжку из цементно-песчаного раствора на участки размером не более 6´6 м, а из песчаного асфальтобетона - на участки не более 4´4 м. В холодных покрытиях с несущими плитами длиной 6 м эти участки должны быть 3´3 м. 5.10 По температурно-усадочным швам должна быть предусмотрена укладка полосок - компенсаторов шириной 150 - 200 мм из рулонных материалов с приклейкой по обеим кромкам на ширину около 50 мм. При несовместимости теплоизоляционных плит и кровельного материала, укладываемого на теплоизоляцию, между ними должна быть предусмотрена разделительная прослойка из стеклохолста или геотекстиля плотностью не менее 100 г/м2. 5.12 Пароизоляцию для защиты теплоизоляционного слоя и основания под кровлю от увлажнения парообразной влаги помещений следует предусматривать в соответствии с требованиями СП 50.13330. Пароизоляционный слой должен быть непрерывным и водонепроницаемым. В местах примыкания теплоизоляционного слоя к стенам, стенкам фонарей, шахтам и оборудованию, проходящему через покрытие или чердачное перекрытие, пароизоляция должна быть поднята на высоту, равную толщине теплоизоляционного слоя, а в местах деформационных швов она должна быть заведена на края металлического компенсатора и герметично приклеена или приварена. 5.13 При закреплении кровельного ковра крепежными элементами, шаг их определяют расчетом на ветровую нагрузку (приложение Е). 5.14 В местах перепада высот, примыканий кровли к парапетам, стенкам бортов фонарей, в местах пропуска труб, у водосточных воронок, вентиляционных шахт и т.п. предусматривают дополнительный водоизоляционный ковер, количество слоев которого рекомендуется принимать по приложению Д. 5.15 Дополнительные слои водоизоляционного ковра из рулонных материалов и мастик должны быть заведены на вертикальные поверхности не менее чем на 250 мм. В соответствии с ГОСТ 30693 прочность сцепления нижнего слоя кровельного ковра со стяжкой и между слоями должна быть не менее 1 кгс/см2. 5.16 Горячие и холодные битумные, битумно-резиновые, битумно-полимерные и битумно-эмульсионные мастики, а также наплавляемые рулонные материалы в зависимости от уклона кровли должны иметь теплостойкость не ниже указанной в таблице 3. Таблица 3
5.17 На кровлях (типы К-1 и К-2, приложение Г) с уклоном до 10 % (до 6°) из мастичных или из битумных и битумно-полимерных рулонных материалов с мелкозернистой посыпкой защитный слой должен быть предусмотрен из гравия фракции 5 - 10 мм или из крупнозернистой посыпки (каменной крошки) с маркой по морозостойкости не ниже 100, втопленных в мастику. Толщина защитного слоя из гравия должна быть 10 - 15 мм, а из посыпки - 3 - 5 мм. В кровлях из мастичных материалов защитный окрасочный слой должен быть стойким к воздействию солнечной радиации. В ендове такой кровли на ширину 1,5 м должен быть предусмотрен защитный слой из гравия или крупнозернистой посыпки. 5.18 Защитный слой эксплуатируемых кровель (тип К-3, приложение Г) должен быть плитным или монолитным из негорючих материалов НГ с маркой по морозостойкости не менее 100, толщиной не менее 30 мм и прочностью, определяемой расчетом на нагрузки в соответствии с СП 20.13330, а при травяном покрове - почвенным. В монолитном защитном слое эксплуатируемых кровель должны быть предусмотрены не более чем через 1,5 м во взаимно-перпендикулярных направлениях температурно-усадочные швы шириной до 10 мм, заполняемые герметизирующими мастиками. 5.19 На кровлях, где требуется обслуживание размещенного на них оборудования (крышные вентиляторы и т.п.), должны быть предусмотрены ходовые дорожки и площадки вокруг оборудования из материалов по 5.18. На кровлях, где требуется только ее обслуживание, допускается применение ходовых дорожек из дерева, резиновых плиток или полимерных рулонных материалов. Ходовые дорожки не должны препятствовать отводу воды с кровли; для этого в них должны быть предусмотрены каналы или снизу - дренажный материал. 5.20 В эксплуатируемых инверсионных кровлях (тип К-4, приложение Г), предназначенных для размещения кафе, спортивных площадок, соляриев, автостоянок и т.п. защитный слой следует предусматривать из цементно-песчаного раствора или монолитного железобетона, либо из бетонных плит по слою цементно-песчаного раствора или на специальных подставках либо уложенных на геотекстиль. 5.21 Защитный слой кровель на участках уборки производственной пыли, снега, складирования материалов и т.п. предусматривают из цементно-песчаного раствора или плитных материалов укладываемых на цементно-песчаном растворе с соблюдением требований 5.18. 5.22 На неэксплуатируемых кровлях из эластомерных и термопластичных рулонных материалов, выполняемых методом свободной укладки, следует предусматривать плитный или гравийный пригрузочный слой, масса которого определяется расчетом на ветровую нагрузку (приложение Е). 5.23 Максимально допустимая площадь кровли из рулонных и мастичных материалов групп горючести Г-2, Г-3 и Г-4 при общей толщине водоизоляционного ковра до 8 мм, не имеющей защиты из слоя гравия или крупнозернистой посыпки, а также площадь участков, разделенных противопожарными поясами (стенами), не должна превышать значений, приведенных в таблице 4. 5.24 Противопожарные пояса должны быть выполнены как защитные слои эксплуатируемых кровель (5.18) шириной не менее 6 м. Противопожарные пояса должны пересекать основание под кровлю (в том числе теплоизоляцию), выполненное из материалов групп горючести Г-3 и Г-4, на всю толщину этих материалов. Таблица 4
5.25 В местах пропуска через кровлю воронок внутреннего водостока предусматривают понижение на 15 - 20 мм в радиусе 0,5 - 1,0 м от уровня водоизоляционного ковра и водоприемной чаши. Ось воронки должна находиться на расстоянии не менее 600 мм от парапета и других выступающих над кровлей частей зданий. 5.26 В деформационном шве с металлическими компенсаторами пароизоляция должна перекрывать нижний компенсатор, а в шве, предусмотрен сжимаемый утеплитель, например из стеклянного штапельного волокна по ГОСТ 31309 или из минеральной ваты по ГОСТ 21880. 5.27 В кровлях из битумных и битумно-полимерных рулонных и мастичных материалов в местах примыкания к вертикальным поверхностям могут быть предусмотрены наклонные клиновидные бортики со сторонами около 100 мм [2, 3]. 5.28 В местах примыкания кровли к парапетам высотой до 450 мм слои дополнительного водоизоляционного ковра могут быть заведены на верхнюю грань парапета с обделкой мест примыкания оцинкованной кровельной сталью и закреплением ее при помощи костылей. В кровлях из ТПО-мембран или ПВХ-мембран дополнительный водоизоляционный ковер из этих материалов допускается приваривать к капельнику из ТПО-металла или ПВХ-металла. 5.29 В кровлях с высоким (более 450 мм) парапетом верхняя часть защитного фартука может быть закреплена металлической прижимной рейкой на саморезах и защищена герметиком, а верхняя часть парапета защищена кровельной сталью, закрепляемой костылями или покрыта парапетными плитами с герметизацией швов между ними [2, 3]. 5.30 В местах пропуска через крышу труб рекомендуется предусматривать применение стальных патрубков с фланцами (или железобетонных стаканов) и герметизацию кровли в этом месте. Места пропуска анкеров также следует герметизировать. На примыканиях кровли к патрубкам и анкерам допускается предусматривать резиновые фасонные детали, а в кровлях из ПВХ-мембран - детали из армированных ПВХ заготовок (стаканов, фасонных деталей) [2]. 5.31 На карнизном участке при наружном водоотводе кровлю рекомендуется усиливать одним слоем дополнительного водоизоляционного ковра из рулонного материала шириной не менее 250 мм, приклеиваемого к основанию под кровлю (в рулонных кровлях из битумных и битумно-полимерных материалов), или одним слоем мастики с армирующей прокладкой (в мастичных кровлях). В кровлях из эластомерных материалов (например, из ЭПДМ) водоизоляционный ковер приклеивают к капельнику, а из ТПО-мембран или ПВХ-мембран ковер приваривают к капельнику из ТПО-металла или ПВХ-металла [2]. 5.32 На коньке кровлю с уклоном 3,0 % и более рекомендуется усиливать на ширину 150 - 250 мм с каждой стороны, а ендову - на ширину 500 - 750 мм (от линии перегиба) одним слоем дополнительного водоизоляционного ковра из битумного или битумно-полимерного рулонного материала (в рулонных кровлях из битумных и битумно-полимерных материалов) или одним армированным мастичным слоем (в мастичных кровлях) согласно приложению Д. 5.33 В кровлях с травяным растительным покровом и в инверсионных кровлях следует применять воронки с дренажным кольцом для отвода воды и доборными элементами, изготовленными из гнилостойкого материала, например из пластмассы. 5.34 Примеры решения деталей рулонных и мастичных кровель приведены в приложении Ж. 6 Кровли из штучных материалов и волнистых листовВ кровлях из штучных материалов и волнистых листов [3, 4] применяют: черепицу, кровельные плитки, волнистые, хризотилцементные, цементо-волокнистые, стальные, медные и алюминиевые листы и металлочерепицу. Конструктивные решения таких кровель приведены в приложении 3. 6.1 Кровли из цементно-песчаной и керамической черепицы6.1.1 Уклон черепичной кровли зависит от формы черепицы и вида ее укладки (таблица 5) [4]. Таблица 5
6.1.2 Дополнительные требования к кровле из цементно-песчаной черепицы в зависимости от уклона приведены в таблице 6. Таблица 6
Кровли из цементно-песчаной черепицы могут иметь следующие конструктивные решения: толщина теплоизоляции меньше высоты стропила: диффузионная (гидрозащитная) пленка располагается с образованием двух вентиляционных каналов (таблица 3.1, приложение 3); толщина теплоизоляции равна высоте стропила: диффузионная (ветрогидрозащитная) пленка располагается на поверхности теплоизоляции с образованием над нею одного вентиляционного канала (таблица 3.1, приложение 3); толщина теплоизоляции больше высоты стропила: в этом случае дополнительный слой теплоизоляции может быть расположен снизу между поперечными каркасными брусками либо сверху стропил между дополнительными брусками, высота которых равна толщине дополнительной теплоизоляции. 6.1.3 Сечение и шаг стропил устанавливают расчетом на действие нагрузки по СП 20.13330. Контробрешетку следует предусматривать из брусков с минимальным сечением 30´50 мм. 6.1.4 Конструктивное решение карнизного свеса должно обеспечивать беспрепятственное поступление воздуха в вентиляционные каналы крыши. 6.1.5 В разжелобках подкровельную гидроизоляцию предусматривают из водонепроницаемой мембраны. 6.1.6 Примеры решения деталей кровли приведены в приложении И. 6.1.7 При проектировании черепичной кровли определяют шаг обрешетки (длину ската) и длину кровли (приложение К). 6.2 Кровли из битумной черепицы6.2.1 Основанием под кровлю из битумной черепицы служит сплошной настил, который может быть выполнен из: шпунтованных или обрезных досок хвойных пород не ниже 2-го сорта (ГОСТ 8486) с влажностью не более 20 %; фанеры влагостойкой марки ФК (ГОСТ 3916.2) с влажностью не более 12 %; ориентированно-стружечных плит (ОСП) с влажностью не более 12 %. 6.2.2 Шаг и сечение стропил определяют расчетом в зависимости от действующих нагрузок. Толщину сплошного настила в зависимости от шага стропил принимают по таблице 7. Таблица 7
6.2.3 Под кровельный ковер из битумной черепицы должен быть предусмотрен подкладочный слой из рулонного материала, укладываемый под черепицу по всей поверхности кровли и служащий дополнительной гидроизоляцией на уклонах от 20 % (12°) до 33 % (18°). На больших уклонах подкладочный слой предусматривают только на карнизных и фронтонных свесах, в местах прохода через кровлю труб, шахт, в водосточных желобах и на примыканиях к стенам. 6.2.4 Примеры решения деталей кровли приведены в приложении Л. 6.3 Кровли из плиток6.3.1 Кровля из плиток (натуральный сланец, цементно-волокнистые, хризотилцементные, композитные) включает сплошной настил из досок по стропилам, водоизоляционный слой из рулонных материалов, по которому укладывают плитки. 6.3.2 Для крепления кровельных плиток применяют коррозионно-стойкие гвозди (медные или оцинкованные тянутые) или штифты и шурупы для сланца с диаметром шляпки не менее 9 мм, а также противоветровые кляммеры. 6.3.3 Вентиляцию кровель из плиток предусматривают через вентилируемые коньки, слуховые окна и штучные аэраторы. 6.3.4 Допускается применение крупноформатных плиток по обрешетке (приложение М). Детали примыкания кровли из плиток к стенам, парапетам и к другим вертикальным конструкциям должны включать металлические фартуки (например, из оцинкованной кровельной стали, меди, свинца, алюминия); в этих местах рекомендуется также предусматривать нижний водоизоляционный слой. 6.4 Кровли из волнистых, в том числе профилированных, листовКонструктивные решения кровель из волнистых, в том числе профилированных листов, приведены в приложении 3, примеры решения деталей таких кровель - в приложениях Н и П. Битумные листы 6.4.1 Кровли из битумных волнистых листов следует предусматривать на уклонах 20 % (12°) и более. При уклонах кровли от 10 до 20 % (от 6 до 12°) под волнистыми листами должна быть предусмотрена гидроизоляционная пленка. 6.4.2 Основание под кровлю из битумных волнистых листов следует назначать в зависимости от уклона кровли. При уклоне от 10 до 20 % (от 6 до 12°) необходим сплошной настил из досок или фанеры (6.2.1); при этом величина продольной нахлестки должна быть около 300 мм, а боковой нахлестки - равна двум волнам. Поперечные стыки между волнистыми листами следует уплотнять прокладкой-заполнителем, поставляемым в комплекте с листами. При уклоне от 20 до 25 % (от 12 до 15°) шаг обрешетки следует принимать равным около 450 мм, продольную нахлестку - около 200 мм, а боковую - равной одной волне. При уклоне более 25 % (более 15°) шаг обрешетки должен быть около 600 мм, продольная нахлестка - около 170 мм, а боковая - равной одной волне. Желоб кровли может быть предусмотрен из оцинкованной кровельной стали или алюминия; волнистые листы должны перекрывать его на ширину не менее 150 мм. 6.4.4 Для примыканий кровли из волнистых листов к стене, парапету и дымовой трубе следует применять угловые детали, которые закрепляют шурупами, пропускаемыми через гребни волн рядовых листов; при этом по скату их устанавливают внахлёстку не менее 150 мм, а поперек ската не менее чем на одну волну. 6.4.5 Крепление листов к стальным и железобетонным прогонам должно осуществляться при помощи стальных оцинкованных крюков или скоб, а к деревянным брускам оцинкованными шурупами по ГОСТ 1144, ГОСТ 1145 и ГОСТ 1146. Количество креплений листов к обрешетке гвоздями или шурупами, шаг брусков обрешетки или прогонов определяют расчетом на действующие нагрузки в соответствии с главой СП 20.13330; при этом количество креплений должно быть не менее 4 на лист, а количество противоветровых скоб в карнизном ряду - не менее 2 на лист. Хризотилцементные листы 6.4.7 Для кровель применяют хризотилцементные волнистые листы и изделия без отделки поверхности или окрашенные. 6.4.8 Кровли из волнистых хризотилцементных листов следует предусматривать на уклонах 20 % (12°) и более. При уклонах кровли от 10 до 20 % (от 6 до 12°) под волнистыми листами должна быть предусмотрена гидроизоляционная пленка. 6.4.9 Для кровель жилых зданий предусматривают листы профиля СВ 40/150 (средневолновой, высота волны - 40 мм, шаг волны - 150 мм), а для промышленных зданий - листы профиля СЕ 51/177 (среднеевропейского, высота волны - 51 мм, шаг волны- 177 мм) [5]. 6.4.10 Поперек ската волна накрывающей кромки волнистого листа профиля СВ 40/150 должна перекрывать волну накрываемой кромки смежного листа, а листа профиля СЕ 51/177 - половину волны смежного листа. Вдоль ската кровли нахлестка хризотилцементных волнистых листов должна быть не менее 150 мм [5]. 6.4.11 Основанием под кровлю из хризотилцементных волнистых листов гражданских зданий с чердаком может быть обрешетка из рядовых брусков сечением 60´60 мм. Для обеспечения плотной продольной нахлестки все нечетные бруски обрешетки должны иметь высоту 60 мм, а четные - 63 мм. Шаг брусков обрешетки должен составлять не более 800 мм. Для брусков обрешетки применяют древесину хвойных пород в соответствии с требованиями СП 64.13330. 6.4.12 На карнизе рекомендуется использовать брусок высотой 65 мм, на коньке два коньковых бруска сечением 70´90 мм и 60´100 мм, а вдоль конька дополнительные приконьковые бруски того же сечения, что и рядовые. 6.4.13 В зданиях производственного назначения основание под кровлю из хризотилцементных волнистых листов предусматривают из стальных или деревянных прогонов. 6.4.14 Для сопряжения элементов кровли из хризотилоцементных волнистых листов предусматривают хризотилцементные фасонные (доборные) детали в соответствии с ГОСТ 30340. При отсутствии хризотилцементных фасонных деталей допускается использовать коньковые, угловые и лотковые детали, выполненные из тонколистовой оцинкованной стали (в том числе с полимерным покрытием) или из алюминиевого сплава. 6.4.15 При длине здания более 25 м для компенсации деформаций в кровле должны быть предусмотрены компенсационные швы, располагаемые с шагом 12 м для хризотилцементных листов, не защищенных водостойким покрытием, и 24 м - для гидрофобизированных и окрашенных листов. 6.4.16. Требования к деталям кровли из хризотилцементных листов аналогичны требованиям, изложенным в 6.4.3 - 6.4.6. Цементноволокнистые листы 6.4.17 Кровли из волнистых цементноволокнистых листов следует предусматривать на уклонах не менее 20° (36 %), а на уклонах 7 - 20° (12 - 36 %) под волнистыми листами - дополнительный водоизоляционный слой. Волнистые цементноволокнистые листы выпускают размерами 920´585 мм, 920´875 мм и 1130´1750 мм с шагом волны 177 мм и нахлестом по длине - 125 мм (первые две); с шагом волны и нахлестом по длине - 150 мм (третья). 6.4.18 Требования к основанию под кровлю из цементноволокнистых листов аналогичны требованиям, изложенным в 6.4.11. 6.4.19 Требования к деталям кровли из цементноволокнистых листов аналогичны требованиям, изложенным в 6.4.3 - 6.4.6, 4.6.12 - 4.6.15. Металлические профилированные листы, в том числе металлочерепица 6.4.20 В качестве кровельных листов предусматривают профили стальные с цинковым, алюмоцинковым или алюминиевым покрытием заготовки, защитно-декоративным лакокрасочным покрытием по ГОСТ 24045, а также алюминиевые профилированные листы, металлочерепица и композитная металлочерепица. 6.4.21 Кровли из профилированных листов предусматривают на уклонах более 20 % (12°); на уклонах от 10 до 20 % (6° - 12°) следует предусматривать герметизацию продольных и поперечных стыков между листами либо - водоизоляционный слой под листами. Величина нахлестки профлиста вдоль ската должна быть не менее 250 мм, а поперек ската - на один гофр. 6.4.22 Основанием под кровлю из профлиста служат деревянные бруски или металлические прогоны. Несущая способность основания под кровлю устанавливают расчетом на нагрузки в соответствии с СП 20.13330. 6.4.23 Профлисты крепят к прогонам самонарезающими винтами с уплотнительной шайбой из ЭПДМ. 6.4.24 На примыкании кровли из металлического профлиста к стенам предусматривают фартуки из стальных листов с цинковым или полимерным покрытием. Крепление их выполняют на заклепках, а между собой одинарным лежачим фальцем. Коньковый и карнизный фасонные элементы, а также фартуки для отделки пропусков через кровлю могут иметь «гребенку» по форме поперечного сечения металлического профлиста. 6.4.25 Кровли из металлочерепицы и композитной металлочерепицы следует применять на уклонах более 20 % (12°). На уклонах от 10 до 20 % (от 6° до 12°) под металлочерепицей должен быть предусмотрен водоизоляционный слой. 6.4.26 Основанием под кровлю из металлочерепицы и композитной металлочерепицы служит настил из обрезных досок. Расстояние между досками обрешетки зависит от шага волны черепицы. 6.4.27 Кроме основных деталей карниза, конька, водоотводящего лотка (желоба), кровля комплектуется также набором кровельных аксессуаров (уплотнителем конька, заглушкой, снеговым барьером и др.). 6.4.28 Для вентиляции утепленной крыши должны быть предусмотрены один или два вентиляционных канала в зависимости от конструктивного решения (приложение 3). Вытяжка осуществляется через конек или вытяжную трубу, расположенную на скате. Конструктивные решения кровли из профилированных листов приведены в приложении 3. 6.4.29 На фронтонном свесе кровли следует предусматривать торцевую деревянную доску, которая должна быть выше обрешетки на высоту металлочерепицы. Сверху узел перекрывают металлической ветровой планкой. 6.4.30 В месте установки желоба предусматривают сплошное основание, толщина которого равна толщине обрешетки. Желоб укладывают с нахлесткой не менее 150 мм, а стык герметизируют. 7 Кровли из металлических листов7.1 Для кровель из листовых материалов применяют: сталь (ГОСТ 14918) толщиной до 0,6 мм; медь марки M1 (ГОСТ 859) толщиной 0,6 или 0,7 мм, шириной рулона 600 и 670 мм, листов - 1000 мм; цинк марки Ц-2 (ГОСТ 3640) толщиной до 0,6 мм; цинк-титан толщиной 0,7 мм, шириной рулона 500, 600 и 670 мм, листов - 1000 мм; алюминий (ГОСТ 21631) толщиной 0,7 мм, шириной рулона 500 или 650 мм, листов - 1000 мм [6, 7]. 7.2 Кляммеры, крепежные элементы, водосточные желоба и трубы, а также комплектующие изделия для обделки примыканий кровли к выступающим над нею конструкциям должны быть предусмотрены из материалов согласно их совместимости (таблица Р.2, приложение Р). Высота подъема кровли на примыканиях должна приниматься не менее 250 мм. 7.3 Основанием под кровлю из листовой стали и алюминия служит деревянная обрешетка из брусков или досок хвойных пород (ГОСТ 24454). Свес кровли из листовой стали и алюминия следует предусматривать в виде сплошного дощатого настила шириной не менее 700 мм, а далее с шагом не более 200 мм параллельно свесу - бруски обрешетки. При этом обрешетка должна чередоваться с доской, на которой располагаются лежачие фальцы стыкуемых картин. В желобах обрешетку следует предусматривать в виде сплошного дощатого настила шириной до 700 мм. 7.4 Основанием под кровлю из цинк-титана и меди служит деревянный сплошной настил из досок толщиной не менее 24 мм, из влагостойкой фанеры марки ФК (ГОСТ 3616.2) толщиной 22 - 24 мм или ОСП (ориентированно-стружечная плита). Несущую способность основания под кровлю следует устанавливать расчетом на действующие нагрузки в соответствии со СП 20.13330. 7.5 При выборе материала для кровли необходимо учитывать их физико-механические показатели (таблица Р.3, приложение Р). Такие металлы, как медь, алюминий, цинк-титан, обладают высокими показателями линейного расширения, поэтому компенсацию расширения кровель необходимо предусматривать как вдоль, так и поперек скатов. Оптимальная длина ската кровли из этих металлов при закреплении скользящим кляммером не должна превышать 10 м. При большей длине ската следует предусматривать компенсационные стыки, температурные швы и длинные скользящие кляммеры, которые располагают вдоль ската в стоячих фальцах. 7.6 Конструкция поперечных соединений листов (деформационных швов) и водоотводящих желобов зависит от угла наклона кровли (приложение С). Зона расположения неподвижных (жестких) кляммеров на основной плоскости кровли (шириной 3 м) зависит от ее уклона (приложение С). 7.7 Неподвижные (жесткие) кляммеры следует предусматривать для закрепления кровли вокруг выступающих над нею конструкций. При длине водоотводящего желоба свыше 8 м стыки листов следует предусматривать в виде двойного лежачего фальца с герметизирующими прокладками. 7.8 Допускается предусматривать компенсаторы из элементов с эластичными полосами из синтетического каучука. 7.9 Крепление листовых материалов следует предусматривать кляммерами, которые закрепляют к основанию коррозионностойкими гвоздями или саморезами. Соединение кровельных картин вдоль ската следует выполнять двойными стоячими фальцами, поперек ската - лежачими. При уклоне кровли более 35° допускается соединение вдоль ската угловыми стоячими фальцами. На основных плоскостях кровель количество кляммеров определяется расчетом на ветровую нагрузку, расчетное усилие на выдергивание кляммера около 500 Н. На коньке кровли и на свесах по периметру здания количество кляммеров удваивается. 7.10 При уклоне кровли от 3 до 7° (от 5 до 12 %) предусматривают герметизацию фальцев предварительно сжатой уплотнительной лентой (ПСУЛ) на длину фальца вдоль ската не менее 3 м от стены под карнизом. 7.11 Конструктивные решения кровель приведены в приложении Р (таблица Р.1), а примеры решения деталей кровли - в приложении С. 8 Кровли из железобетонных лотковых панелей8.1 Безрулонные крыши из железобетонных лотковых панелей [8] предусматривают в зданиях с вентилируемым чердаком. Такие крыши включают железобетонные кровельные панели, железобетонные водосборные лотки (при внутреннем водоотводе) с защитой гидроизоляционным слоем из мастичных окрасочных составов (из холодной битумно-полимерной или полимерной мастики по ГОСТ 30693) и доборные элементы (фризовые панели, опорные столбики, балки и т.п.). 8.2 В местах пропуска вентиляционных блоков, труб и другого инженерного оборудования в железобетонных панелях должны быть предусмотрены отверстия с обрамлением, выступающим на высоту не менее 100 мм. 8.3 Вынос карнизов кровельных панелей при наружном водоотводе за грань наружной стены должен быть не менее 600 мм, а при внутреннем водоотводе не менее 100 мм. 8.4 В опорных фризовых панелях стен должны быть предусмотрены вентиляционные отверстия, общая площадь которых в каждой из продольных стен принимают по аналогии с требованием 4.4. 8.5 Стыки между кровельными панелями, водосборными лотками, а также стыки этих элементов с вентиляционными шахтами, торцовыми фризовыми панелями, стояками вытяжной вентиляции и т.д. должны располагаться выше основной водосливной поверхности кровельных панелей и водосборных лотков. 8.6 Водосборные лотки должны быть однопролетными. Не допускается пропускать через днище водосборных лотков стояки вытяжной вентиляции, стойки радио, телеантенн и др. 8.7 В крышах с наружным неорганизованным водоотводом для конькового стыка между кровельными панелями предусматривают П-образные железобетонные нащельники (приложение Т), для стыка кровельных панелей и водосборных лотков с торцовыми фризовыми панелями - фартуки из оцинкованной стали с пристрелкой их дюбелями к фризовой панели и последующей установкой парапетной плитки, а в местах сопряжения кровельных панелей с вентиляционными шахтами - фартуки из оцинкованной кровельной стали с пристрелкой их дюбелями к вертикальной плоскости вентиляционных шахт и прокладкой между стенкой шахты и фартуком герметизирующей ленты. 8.8 Для сопряжения кровельных панелей со стояками вытяжной вентиляции могут быть предусмотрены металлические зонты из оцинкованной кровельной стали с обжимными кольцами. 9 Водоотвод с кровли и снегозадержание9.1 Для удаления воды с кровель предусматривается внутренний или наружный организованный водоотвод. В соответствии с 3.24 СНиП 31-06 допускается предусматривать неорганизованный водоотвод с крыш 1 - 2-этажных зданий при условии устройств козырьков над входами. 9.2 Водосточные воронки внутреннего организованного водоотвода должны располагаться равномерно по площади кровли на пониженных участках, на самом низком участке при необходимости предусматривают аварийный водоотвод при помощи парапетной воронки (приложение Ж). Число воронок в зависимости от ее пропускной способности, площади кровли и района строительства определяют по СП 30.13330 и СП 32.13330. 9.3 При неорганизованном водоотводе вынос карниза от плоскости стены должен составлять не менее 600 мм. 9.4 Присоединение воронок, установленных по обеим сторонам деформационного шва, к одному стояку или к общей подвесной линии допускается предусматривать при условии обязательного устройства компенсационных стыков. 9.5 На крышах с чердаком и в покрытиях с вентилируемыми воздушными каналами приемные патрубки водосточных воронок и охлаждаемые участки водостоков должны быть теплоизолированы и обогреваемы. 9.6 В покрытиях с несущим настилом из профилированного листа для установки водосточных воронок должны быть предусмотрены поддоны. 9.7 При наружном организованном отводе воды с кровли расстояние между водосточными трубами должно приниматься не более 24 м, площадь поперечного сечения водосточных труб должна приниматься из расчета 1,5 см2 на 1 м2 площади кровли. 9.8 Соединение водоизоляционного ковра с воронкой может быть предусмотрено при помощи съемного или несъемного фланца либо интегрированного соединительного фартука, при этом последний должен быть совместимым с материалом водоизоляционного ковра. 9.9 Водостоки должны быть защищены от засорения листво- или гравиеуловителями, а на эксплуатируемых кровлях-террасах над воронками и лотками предусматривают съемные дренажные (ревизионные) решетки. 9.10 Высота примыкания кровли у дверей выхода на покрытие (крышу) должна быть не менее 150 мм от поверхности водоизоляционного ковра, защитных слоев или грунта озелененной кровли. 9.11 В местах перепада высот (при каскадном водоотводе) на пониженных участках кровель следует предусматривать ее усиление защитными слоями в соответствии с 5.18 настоящих норм, 9.12 На кровлях зданий с уклоном 5 % (~ 3°) и более и наружным неорганизованным и организованным водостоком следует предусматривать снегозадерживающие устройства, которые должны быть закреплены к фальцам кровли (не нарушая их целостности), обрешетке, прогонам или к несущим конструкциям покрытия. Снегозадерживающие устройства устанавливают на карнизном участке над несущей стеной (0,6 - 1,0 м от карнизного свеса), выше мансардных окон, а также, при необходимости, на других участках крыши. 9.13 При применении трубчатых снегозадержателей под ними предусматривают сплошную обрешетку. Расстояние между опорными кронштейнами определяют в зависимости от снеговой нагрузки в районе строительства и уклона кровли. При применении локальных снегозадерживающих элементов схема их расположения зависит от типа и уклона кровли, которая должна быть предоставлена изготовителем этих элементов 9.14 Для предотвращения образования ледяных пробок и сосулек в водосточной системе кровли, а также скопления снега и наледей в водоотводящих желобах и на карнизном участке следует предусматривать установку на кровле кабельной системы противообледенения. Приложение А
|
|||||||||||||||||||||||||||||||||||||||||||||||||||||||||||||||||||||||||||||||||||||||||||||||||||||||||||||||||||||||||||||||||||||||||||||||||||||||||||||||||||||||||||||||||||||||||||||||||||||||||||||||||||||||||||||||||||||||||||||||||||||||||||||||||||||||||||||||||||||||||||||||||||||||||||||||||||||||||||||||||||||||||||||||||||||||||||||||||||||||||||||||||||||||||||||||||||||||||||||||||||||||||||||||||||||||||||||||||||||||||||||||||||||||||||||||||||||||||||||||||||||||||||||||||||||||||||||||||||||||||||||||||||||||||||||||||||||||||||||||||||||||||||||||||||||||||||||||||||||||||||||||||||||||||||||||||||||||||||||||||||||||||||||||||||||||||||||||||||||||||||||||||||||||||||||||||||||||||||||||||||||||
|
Обозначение |
Аэродинамические коэффициенты при |
||||||
|
3 < S/Ho < 6 |
6 < S/Ho < 25 |
||||||
|
L/Ho |
L/Ho |
||||||
|
1 |
2 |
3 |
4 |
6 |
8 |
||
|
90° |
k1 k2 |
+0,6 -0,6 |
+0,6 -0,2 |
+0,6 -0,15 |
+0,5 -0,15 |
+0,5 -0,1 |
+0,5 -0,05 |
|
45° |
k1 k2 |
+0,2 -0,8 |
+0,2 -0,6 |
+0,2 -0,3 |
+0,2 -0,1 |
+0,2 -0,1 |
+0,2 -0,1 |
|
S - длина зданий, м; Но - высота здания от уровня земли до верха козырька, м; L - ширина здания, длина вентилируемых каналов, м. |
|||||||
L - длина вентилируемого канала, м;
Л - коэффициент сопротивления трению, определяется по формуле
(В.7)
где D - приведенная шероховатость стенок канала;
(B.8)
где D1 и D2 - абсолютная шероховатость материала стенок канала, принимаемая по таблице В.2;
Таблица В.2 - Абсолютная шероховатость для основных материалов, используемых при устройстве вентилируемых покрытий
|
Абсолютная шероховатость Di, мм |
|
|
Хризотилцементные, асбестоцементные, ЦСП |
0,6 |
|
Деревянные остроганные |
0,3 |
|
Деревянные неостроганные |
2,0 |
|
Бетонные из необработанного бетона |
0,3 |
|
Шлакобетонные, опилко-алебастровые и т.д. |
1,5 |
|
Из штучных изделий (блоков, плит, кирпичей) без заполнения швов |
10,0 |
|
Из штучных теплоизоляционных изделий с заполнением швов |
6,0 |
d - эквивалентный диаметр канала, м; для канала прямоугольного сечения со сторонами а и b; определяется по формуле
(В.9)
При сечении канала: а = 0,1 м и b = 0,05 м получаем d = 0,067 м.
Для данного примера расчета ![]()
Тогда ![]()
Sx - сумма местных сопротивлений [13]. Для нашего примера Sx = 36.
Средняя скорость движения воздуха в вентилируемом канале за летний период, рассчитанная по формуле (В.6), составляет 0,23 м/с.
Результаты расчетов количества влаги, г/м2, удаляемой из утеплителя через вентилируемые каналы за 1 летний сезон, приведены в таблице В.3.
Таблица В.3
|
Апрель |
Май |
Июнь |
Июль |
Август |
Сентябрь |
Октябрь |
|
|
tн, °C |
4,4 |
11,9 |
16,0 |
18,1 |
16,3 |
10,7 |
4,3 |
|
jн, % |
66 |
58 |
59 |
63 |
68 |
73 |
78 |
|
eн, Па |
552 |
813 |
1066 |
1293 |
1266 |
933 |
653 |
|
В1, г/м3 |
4,3 |
6,2 |
8,0 |
9,6 |
9.5 |
7,1 |
5,1 |
|
Jрад, Вт/м2 |
232 |
322 |
343 |
333 |
261 |
174 |
84 |
|
|
10,5 |
20,3 |
24,9 |
26,8 |
23,1 |
15,2 |
6,5 |
|
Ек, Па |
1321 |
2381 |
3093 |
3421 |
2792 |
1761 |
1029 |
|
В2, г/м3 |
10,1 |
17,6 |
25,6 |
24,8 |
20,5 |
13,2 |
8,0 |
|
q, г/м3 |
455 |
925 |
1146 |
1234 |
893 |
479 |
236 |
|
|
|||||||
Рассчитаем время Т, необходимое для сушки увлажненного утеплителя с учетом существующей влажности утеплителя и возможной технологической влаги при укладке теплоизоляции. Для этого в качестве источника увлажнения принимаем 20-минутный дождь Q20 с вероятностью максимальной интенсивности 50 %, учитывая относительно небольшую площадь покрытия и соотношение сторон здания в плане. Так, например, при Q20 = 80 л/с×га (г. Москва) дополнительное увлажнение утеплителя может составить 0,5×0,12×80 = 4,8 кг/м2.
Время Т в летних сезонах с учетом воздействия солнечной радиации, в течение которого влажность пенобетона и минераловатного утеплителя достигнут нормативного значения, составит:
|
wпен = 22 % |
Т = (4 + 4,8)/5,368 » 1,6 летних сезона; |
|
wпен = 30 % |
Т = (7,2 + 4,8)/5,368 » 2,2 летних сезона; |
|
wпен = 40 % |
Т = (11,2 + 4,8)/5,368 » 3,0 летних сезона. |
Второй вариант
При отсутствии возможности выполнения парапета по схеме, приведенной на рисунке В.3, над местами пересечения вентилируемых и диффузионных каналов устанавливаются кровельные аэраторы, требуемое число и диаметры которых определяются расчетом. На рисунке В.4 показан план кровли рассматриваемого здания и пример установки аэраторов (рисунок В.5).
На площади участка покрытия 930,6 м2 предварительно устанавливаем 10 аэраторов Æ 100 мм из условия действия одного аэратора на площади 80 - 90 м2, а на всей площади покрытия, равной 5184 м2, - 56 аэраторов.
1 - ендова; 2 - конек; 3 - аэраторы
Рисунок В.4 - План расположения аэраторов Æ 100 мм
Для покрытия здания размером
в плане не более 48´144 м и
высотой 10 м на базе 6 - 18 м как вдоль, так и поперек линии конька, в
патрубках аэраторов одинакового диаметра при всех направлениях ветра скоростью
2 - 5 м/с возникает разность давлений DР,
составляющая 0,12 - 0,14 кгс/м2, в результате чего в вентилируемых
каналах происходит движение воздуха. В этом случае скорость движения воздуха в
канале определяем по формуле (В.10).
При высоте здания больше или меньше 10 м скорость движения воздуха в канале
определяется по формуле (В.6) с
учетом изменения скорости ветра
по высоте (формула В.6¢).
1 - герметик; 2 - дополнительный слой водоизоляционного ковра; 3 - основной слой ковра; 4 - сборная стяжка из ЦСП; 5 - минераловатные плиты; 6 - монолитная (существующая) стяжка; 7 - увлажненный пенобетон; 8 - железобетонная несущая плита; 9 - вентилируемый канал; 10 - аэратор Æ 100 мм
Рисунок В.5 - Пример установки кровельного аэратора (вентиляционного патрубка) над каналом 100 мм
Скорость движения воздуха в каналах между двумя аэраторами определяем по формуле
где
кг/м3;
°С;
g - ускорение силы тяжести, равное 9,81 м/с2.
При подстановке исходных данных в формулу (В.10) скорость движения воздуха в вентилируемых каналах составляет 0,11 м/с, а количество влаги, удаляемой из утеплителя за 1 летний сезон, приведено в таблице В.4.
Таблица В.4
|
Апрель |
Май |
Июнь |
Июль |
Август |
Сентябрь |
Октябрь |
|
|
tн, % |
4,4 |
11,9 |
16,0 |
18,1 |
16,3 |
10,7 |
4,3 |
|
jн, % |
66 |
58 |
59 |
63 |
68 |
73 |
78 |
|
eн, Па |
552 |
813 |
1066 |
1293 |
1266 |
933 |
653 |
|
В1, г/м3 |
4,3 |
6,2 |
8,0 |
9,6 |
9,5 |
7,1 |
5,1 |
|
Jрад, Вт/м2 |
232 |
322 |
343 |
333 |
261 |
174 |
84 |
|
|
10,5 |
20,3 |
24,9 |
26,8 |
23,1 |
15,2 |
6,5 |
|
Ек, Па |
1321 |
2381 |
3093 |
3421 |
2792 |
1761 |
1029 |
|
В2, г/м3 |
10,1 |
17,6 |
25,6 |
24,8 |
20,5 |
13,2 |
8,0 |
|
q, г/м3 |
227 |
463 |
573 |
632 |
432 |
239 |
118 |
|
|
|||||||
Так как скорость движения воздуха в вентилируемых каналах и количество удаляемой влаги из утеплителя за летний сезон в 2 раза меньше, чем в предыдущем конструктивном решении (рисунок В.3 и таблица В.3), то время сушки Т в летних сезонах составит:
|
wпен = 22 % |
Т = (4 + 4,8)/2,684 » 3,3 летних сезона; |
|
wпен = 30 % |
Т = (7,2 + 4,8)/2,684 » 4,5 летних сезона; |
|
wпен = 40 % |
Т = (11,2 + 4,8)/2,684 » 6,0 летних сезона. |
В первые зимние месяцы сушки, как правило, происходит активное перемещение влаги из пенобетона в толщу минераловатных плит и перераспределение влагосодержания утеплителей по площади покрытия. При недостаточных или неправильно выполненных нахлестках рулонных пароизоляционных материалов и некачественной герметизации стыков несущих плит или профнастила, кратковременные протечки могут появиться там, где их не было до начала сушки. Во второй зимний период сушки эти протечки, как правило, уже не возникают.
Покрытия (крыши) с рулонной и мастичной кровлями
|
Тип покрытия |
Экспликация |
|
К-1 - традиционное неэксплуатируемое с применением несущих волнистых (профилированных) листов и деревянных стропил
|
1 - профнастил; 2 - пароизоляция: 3 - плитный утеплитель; 3¢ - теплоизоляция из пеностекла; 4 - сборная стяжка; 4¢ - выравнивающая затирка из цементно-песчаного раствора; 5 - грунтовка; 6 - водоизоляционный ковер (приложение Д); 6¢ - водоизоляционный ковер из наплавляемого рулонного материала; 7 - водоизоляционный ковер из эластомерных или термопластичных рулонных материалов; 8 - монопанель; 9 - слой битума; 10 - обрешетка; 11 - стропило; 12 - теплоизоляция из пенополиуретановых плит с деревянными вкладышами; 13 - монолитная выравнивающая цементно-песчаная стяжка; 14 - монолитный утеплитель; 15 - сборная или монолитная железобетонная плита; 16 - разделительный водоизоляционный слой; 17 - предохранительный слой (например, геотекстиль плотностью не менее 150 г/м2); 18 - тротуарная плитка; 19 - опора под тротуарную плитку; 20 - армированная стяжка; 21 - сухая смесь под плитку; 22 - бетонная плитка; 23 - растительный слой; 24 - почвенный слой; 25 - фильтрующий слой (например, геотекстиль); 26 - дренажный слой из экструдированной пенополистирольной ракушечной пластины; 27 - противокорневой слой; 28 - водоизоляционный ковер из гнилостойкого материала; 29 - дренажная мембрана в условиях влажного климата; 30 - дренажная мембрана в условиях сухого климата; 31 - теплоизоляция из пенополистирола с низким водопоглощением; 32 - дренажный слой из гравия; 33 - два слоя гипсоволокнистых листа по 10 мм; 34 - 2 слоя стекломагнезитовых листа по 6 мм; 35 - один слой стекломагнезитового листа толщиной 4 мм; 36 - теплоизоляция из базальтовых минераловатных плит толщиной 50 мм плотностью 90 - 110 кг/м3; 37 - теплоизоляция из пенополистирола; 38 - деревянный брус; 39 - ветро-гидрозащитная пленка (см. таблицу 3.2 в приложении 3); 39 - гидрозащитная пленка (см. таблицу 3.1 в приложении 3); 40 - одноканальный зазор; 40 - двухканальный зазор; 41 - ветрозащитный слой (стеклохолст, стеклоткань) |
|
|
|
|
К-2 - традиционное неэксплуатируемое с применением железобетонных плит
|
|
|
К-3 - традиционное эксплуатируемое
|
|
|
К-4 - инверсионное
|
Конструкции кровельного ковра из рулонных и мастичных материалов
Таблица Д.1 - Кровельный ковер из наплавляемых и полимерных рулонных материалов
|
Число слоев в основном водоизоляционном ковре при уклоне кровли, % |
Число слоев в дополнительном водоизоляционном ковре |
Защитный слой |
|||
|
менее 1,5 |
более или равно 1,5 |
парапет, стена и т.п. |
ендова, воронка |
||
|
Битумный наплавляемый с гибкостью при температуре 0 °С < t £ 5 °С и теплостойкостью в соответствии с 5.16 |
4 |
3 |
2 |
1 |
Из гравия или крупнозернистой посыпки, наклеенных на мастике (в соответствии с 5.17), либо из крупнозернистой посыпки или металлической фольги на верхнем слое рулонного материала; для эксплуатируемых кровель - в соответствии с 5.18 |
|
Битумный наплавляемый с гибкостью при температуре минус 15 °С < t £ 0 °С и теплостойкостью в соответствии с 5.16 |
3 |
2* - 3 |
2 |
1 |
То же |
|
Битумно-полимерный наплавляемый с гибкостью при температуре не выше минус 15 °С и теплостойкостью в соответствии с 5.16 |
2 |
1** - 2 |
1** - 2 |
1 |
» |
|
Эластомерный вулканизованный или термопластичный с гибкостью при температуре, соответственно, не выше минус 40 °С и минус 20 °С, свободно уложенный на основание под кровлю |
1 |
1 |
1 |
0 |
Пригрузочный слой из гравия или бетонных плиток; для эксплуатируемых кровель защитный слой в соответствии с 5.18 |
|
* Два слоя допускается в случае, если суммарная прочность на разрыв кровельного ковра не менее 900 Н/5 см; ** Один слой допускается при применении материала толщиной не менее 5 мм с относительным удлинением не менее 30 % и прочностью вдоль/поперек полотна не менее 900/700 Н/5 см. Примечание - Не допускается применение битумных наплавляемых рулонных материалов с армирующей основой из стеклохолста по минераловатным плитам и для нижнего слоя водоизоляционного ковра по выравнивающим стяжкам и сборным железобетонным плитам. |
|||||
Таблица Д.2 - Кровельный ковер из рулонных материалов, наклеиваемых на мастиках
|
Рулонный материал, приклеивающая мастика и ее показатели |
Число слоев в основном водоизоляционном ковре при уклоне кровли, % |
Число слоев в дополнительном водоизоляционном ковре |
Защитный слой |
||
|
менее 1,5 |
более или равно 1,5 |
парапет, стена и т.п. |
ендова, воронка |
||
|
Рулонные материалы, наклеенные на холодных или горячих мастиках с гибкостью не выше минус 5 °С и теплостойкостью в соответствии с 5.16 |
4 |
3 |
2 |
2 |
Из гравия или крупнозернистой посыпки, наклеенных на мастике (в соответствии с 5.17), либо из крупнозернистой посыпки или металлической фольги на верхнем слое рулонного материала; для эксплуатируемых кровель - в соответствии с 5.18 |
|
Битумный наплавляемый с гибкостью при температуре минус 15 °C < t £ 0 °C и теплостойкостью в соответствии с 5.16 |
3 |
2* - 3 |
2 |
1 |
То же |
|
Битумно-полимерный с гибкостью при температуре не выше минус 15 °С и теплостойкостью в соответствии с 5.16 |
2 |
1** - 2 |
1** - 2 |
1 |
» |
|
Эластомерный вулканизованный или термопластичный с гибкостью при температурах, соответственно, не выше минус 40 °С и минус 20 °С, наклеенный, соответственно, на полимерной или горячей мастиках (для термопластичных рулонных материалов с дублирующим слоем из стеклохолста или полиэстера) либо закрещенный механическим способом |
1 |
1 |
1 |
0 |
- |
|
* Два слоя допускается в случае, если суммарная прочность на разрыв кровельного ковра не менее 900 Н/5 см; ** Один слой допускается при применении материала толщиной не менее 5 мм с относительным удлинением не менее 30 % и прочностью вдоль/поперек полотна не менее 900/700 Н/5 см. Не допускается применение битумных наплавляемых рулонных материалов с армирующей основой из стеклохолста по минераловатным плитам и для нижнего слоя водоизоляционного ковра по выравнивающим стяжкам и сборным железобетонным плитам. |
|||||
Таблица Д.3 - Кровельный ковер из мастичных материалов
|
Число слоев мастик (армирующих прокладок - в скобках) в основном водоизоляционном ковре - в числителе и минимальная толщина ковра из горячих или холодных (в скобках) мастик - в знаменателе при уклоне кровли, % |
Число слоев мастик (армирующих прокладок) в дополнительном водоизоляционном ковре - в числителе и минимальная толщина ковра из горячих или холодных (в скобках) мастик - в знаменателе |
Защитный слой |
|||
|
менее 1,5 |
более или равно 1,5 |
парапет, стена и т.п. |
ендова, воронка |
||
|
Мастика с гибкостью при температуре минус 15 °С < t £ минус 5 °С и теплостойкостью в соответствии с 5.16 |
4 (3) 8 (6) |
2 (2) 4 (3) |
1 (1) 2 (1,5) |
Из гравия или крупнозернистой посыпки, наклеенных на мастиках, или из окрасочного состава в соответствии с 5.17; для эксплуатируемых кровель - в соответствии с 5.18 |
|
|
Мастика с гибкостью при температуре не выше минус 15 °С и теплостойкостью в соответствии с 5.16 |
3 (2) 6 (4,5) |
2 (2) 4 (3) |
1 (1) 2 (1,5) |
То же |
|
Расчет кровельного ковра на ветровые нагрузки
Е.1 Условия расчета кровельного ковра на ветровые нагрузки зависят от способа его укладки (рисунок Е.1), к которым относятся сплошная приклейка всех слоев ковра; частичная (точечная или полосовая 25 - 35 %-ная) наклейка; механическое крепление нижнего слоя ковра в местах нахлесток полотнищ рулонного материала и свободная укладка ковра с пригрузом.
1 - теплоизоляция; 2 - сплошная приклейка; 3 - ковер; 4 - выравнивающая стяжка; 5 - частичная приклейка ковра; 6 - свободно уложенный ковер; 7 - разделительный слой; 8 и 9 - пригруз из гравия или бетонных плиток (монолитный цементно-песчаный раствор, асфальтобетон); 10 - механически закрепленный ковер; 11 - крепежный элемент с шайбой; 12 - приклейка (сварка) продольных кромок рулонных материалов; 13 - профнастил; 14 - сборная стяжка
Рисунок Е.1 - Способы укладки кровельного ковра
Е.2 Самым надежным способом крепления кровельного ковра является сплошная приклейка его по всей поверхности плотного (малопористого) основания под кровлю (например, из асфальтобетона, цементно-песчаного раствора или бетона). Однако и в этом случае ветровая нагрузка W, Н/м2, не должна превышать величины адгезии кровельного ковра к основанию под кровлю и между слоями Qa, Н/м2, т.е. должно выполняться условие
W < Qa. (E.1)
Если при наклейке кровельного материала на волокнистое основание отрыв происходит по волокнистому материалу (когезионный разрыв), то ветровая нагрузка в этом случае не должна быть больше прочности волокнистого материала на растяжение Рр, Н/м2
W < Рр. (Е.2)
Е.3 При точечной или полосовой 25 - 35 %-ной наклейке должны соблюдаться следующие условия:
т.е. W < 0,25Qa; (Е.3)
т.е. W < 0,25Рр; (Е.4)
Е.4 При свободной укладке кровельного ковра (с проклейкой швов) с пригрузом, последний выбирают таким, чтобы его вес Рп, Н/м2, превышал величину ветровой нагрузки
W < Pп. (E.5)
Е.5 Расчет шага крепежных элементов в механически закрепленной однослойной кровле.
Рассмотрим карнизный участок покрытия (крыши), над кровельным ковром которого создается отрицательное давление, т.е. подъемная сила (СП 20.13330), приводящая к деформированию ковра.
Обозначим ширину полотнищ рулонного материала через b, расстояние между крепежными элементами через lk, а высоту подъема кровельного ковра - через h (рисунок Е.2).
Приняв кровельный ковер в сечении в виде нити шириной 5 см, закрепленной по концам и нагруженной распределенной ветровой нагрузкой q (рисунок Е.3), получим, что продольное усилие N состоит из распора Н (горизонтальная составляющая) и поперечной силы Q (вертикальная составляющая) и равна
Подъемная сила ветра стремится выдернуть крайнее полотнище из-под крепежных элементов в точках К и М (рисунок Е.3) и соседнее полотнище в точке L, а также сдвинуть по приклеенной нахлестке соседнее полотнище в точке М. Кроме того, во всех точках крепления полотнищ рулонного материала действует выдергивающая крепежный элемент сила.
Рисунок Е.2 - План участка кровельного ковра (а) и схема деформирования ковра (б и в)
Рисунок Е.3 - Схема деформирования ковра механически закрепленного ковра
Для построения линии подъема нити используется правило построения эпюры моментов для балки. В любом сечении С
(E.7)
где Мс - балочный момент в сечении С;
Ус - ордината кривой равновесия нити в сечении С.
Горизонтальную составляющую определяем по формуле
(Е.8)
где
- характеристика нагрузки.
Тогда
(Е.9)
Q = 0,5qb. (Е.10)
При ширине кровельных рулонных материалов b = 1 м, q = W, тогда
Q = 0,5W. (E.12)
Высоту подъема кривой равновесия нити можно найти из прямоугольного треугольника КОС (рисунок Е.3), приняв КС = КО + Dl, где КО = 0,5 м, а Dl - удлинение рулонного материала при нагревании в летний период, равное 0,01 м, исходя из нормируемого показателя относительного удлинения - 2 % (ГОСТ 30547).
Тогда
а формулы (Е.6) и (Е.11) примут следующий вид:
(E.13)
(Е.14)
Величина нагрузки, действующей на кровельный ковер и на крепежный элемент на базе lk (рисунок Е.2) и равной произведению продольного усилия N в гибкой полоске (нити) на lk, должна быть не более прочности ковра Fкр (H/5 см), то есть должно выполняться условие Nklk £ Fкр, тогда
На рисунке Е.4 приведены графики зависимости шага крепежных элементов от величины продольного усилия в материале однослойного кровельного ковра, полученные по формуле (Е.15): зная прочность кровельного материала и ветровую нагрузку в районе строительства, можно определить шаг крепежных элементов.
У крепежного элемента в точке М (рисунок Е.5) при воздействии ветра происходят следующие процессы: усилие Н с одной стороны сдвигает полоску, как механически закрепленного материала по основанию под кровлю, с другой стороны, тоже сдвигает, но уже как склеенного в нахлестке на ширину 100 мм, а поперечная сила Qм выдергивает крепеж. Поэтому для проверки шага крепежных элементов необходимо знать не только ветровую нагрузку на крепежный элемент и его прочность Qм на выдергивание, но и показатели кровельного рулонного материала при вышеуказанных воздействиях: прочность при закреплении гвоздем Нгв, склейки нахлестки Нск и прочность при продольном растяжении Fкр.
Рисунок Е.4 - Зависимость шага крепежных элементов от продольного усилия в материале кровельного ковра и его прочности
Рисунок Е.5 - Силы, действующие в точке М
По самому слабому показателю можно уточнять расстояние между крепежами либо заменять рулонный материал другими с лучшими показателями. Если по расчету крепеж не выдерживает ветровую нагрузку, его также меняют на другой или уменьшают расстояние между ними.
Е.6 Величина ветровой нагрузки не одинакова на разных участках кровли; это учитывается разными величинами аэродинамического коэффициента с, приведенными в СП 20.13330.
Для плоской кровли с парапетом и скатной кровли рекомендуется следующая схема распределения коэффициента с (рисунок Е.6):
1 - центральная зона (с = 1,0); 2 - краевая зона (с = 2,0) и 3 - угловая зона (с = 2,5)
Для кровли с уклоном более 6 ° (11 %) для угловой зоны с = 3,0
Рисунок Е.6 - Зоны аэродинамического коэффициента с на кровле с парапетом
Н - высота здания; b - ширина здания; l - длина здания.
Примечание - Значение без скобок - для здания, у которого Н > b/3; значения в скобках - для здания, у которого Н £ b/3.
Примеры решения деталей кровли из рулонных и мастичных материалов

1 - железобетонная плита; 2 - основной водоизоляционный ковер из битумных и битумно-полимерных материалов; 3 - дополнительные слои ковра; 4 - костыль (полоса 4´40 мм); 5 - защитный фартук; 6 - бортик из цементно-песчаного раствора; 7 - опора из легкого бетона; 8 - местное понижение воронки; 9 - хомут; 10 - стекловата; 11 - стена; 12 - колпак водоприемной воронки; 13 - ограждение; 14 - патрубок с фланцем; 15 - герметизирующая мастика; 16 - уплотнитель; 17 - деревянный вкладыш; 18 - теплоизоляция; 19 - разделительный слой
Рисунок Ж.1 - Воронка у примыкания кровли к парапету

1 - прогон; 2 - несущий профилированный настил; 3 - пароизоляция; 4 - теплоизоляция; 5 - сборная стяжка из 2 слоев ЦСП; 6 - дополнительный слой водоизоляционного ковра (усиление ендовы); 7 - фланец воронки из битумно-полимерного материала или ПВХ-пленки; 8 - основной слой водоизоляционного ковра из битумных и битумно-полимерных материалов; 9 - герметизирующая мастика; 10 - листвоулавливающая решетка воронки; 11 - защитный слой; 12 - утепление обогреваемой воронки; 13 - водоприемная воронка; 14 - электрокабель обогрева воронки; 15 - утепление стояка; 16 - водоотводящий стояк
Рисунок Ж.2 - Воронка на покрытии с несущими профилированными листами

1 - железобетонная плита; 2 - разуклонка из цементно-песчаного раствора; 3 - дополнительный слой водоизоляционного ковра (усиление ендовы); 4 - основной слой водоизоляционного ковра из битумных и битумно-полимерных материалов; 5 - теплоизоляция из экструдированных пенополистирольных плит; 6 - разделительный слой (геотекстиль); 7 - дренажый слой; 8 - фильтрующий слой; 9 - почвенный слой; 10 - растительный слой; 11 - бортовой камень; 12 - утепление стояка; 13 - водосточная воронка с фланцем; 14 - дренажное кольцо воронки; 15 - герметизирующая мастика; 16 - трап воронки; 17 - утепление воронки; 18 - гравийная засыпка вокруг воронки
Рисунок Ж.3 - Воронка на инверсионном покрытии

1 - железобетонная плита; 2 - пароизоляция; 3 - теплоизоляция; 4 - цементно-песчаная стяжка; 5 - основной водоизоляционный ковер из битумных и битумно-полимерных материалов; 6 - дополнительный водоизоляционный слой; 7 - защитный слой; 8 - бортик из цементно-песчаного раствора; 9 - стальной компенсатор; 10 - костыль (полоса 4´40 мм); 11 - защитный фартук из оцинкованной кровельной стали; 12 - деревянный брусок антисептированный и антипирированный; 13 - штукатурка; 14 - минеральная вата; 15 - разделительный слой; 16 - полиэтиленовая пленка; 17 - кладка из многощелевого или поризованного кирпича; 18 - лента для деформационного шва; 19 - приклейка по кромкам
Рисунок Ж.4 - Деформационный шов

а - с герметизацией мастикой; б - с устройством бортиков из раствора; 1 - сборная железобетонная панель; 2 - пароизоляция; 3 - теплоизоляция; 4 - выравнивающая стяжка; 5 - бортик из цементно-песчаного раствора; 6 - основной водоизоляционный ковер из битумных и битумно-полимерных материалов; 7 - дополнительные слои водоизоляционного ковра; 8 - защитный слой (крупнозернистая посыпка); 9 - хомут; 10 - рамка из стального уголка; 11 - зонт из оцинкованной стали; 12 - патрубок с фланцем; 13 - труба; 14 - герметизирующая мастика; 15 - стекловата; 16 - разделительный слой
Рисунок Ж.5 - Пропуск трубы через покрытие с традиционной кровлей

1 - основной слой водоизоляционного ковра из ПВХ- или ТПО-мембраны; 2 - двухсторонняя самоклеющаяся лента для фиксации пароизоляции; 3 - телескопический крепеж; 4 - дополнительный слой водоизоляционного ковра из ПВХ- или ТПО-мембраны; 5 - металлический профиль из оцинкованной стали толщиной 2 мм; 6 - стена зенитного фонаря из стали; 7 - негорючий плитный утеплитель; 8 - уплотнитель; 9 - защитная рама; 10 - купол зенитного фонаря; 11 - дополнительный сварной шов шириной 20 мм; 12 - крепежный элемент; 13 - сварной шов шириной 30 мм; 14 - плитный утеплитель; 15 - ЭПДМ прокладка; 16 - защитный металлический фартук; 17 - несущая железобетонная плита; 18 - несущий профнастил; 19 - прогон
Рисунок Ж.6 - Примыкание кровли к зенитному фонарю

1 - труба; 2 - термостойкий силиконовый герметик; 3 - обжимной хомут; 4 - зонт; 5 - металлическая гильза; 6 - сжимаемый негорючий утеплитель; 7 - двухсторонняя клейкая лента для фиксации пароизоляции; 8 - дополнительный слой водоизоляционного ковра из ПВХ- или ТПО-мембраны; 9 - сварной шов шириной 30 мм; 10 - основной слой водоизоляционного ковра из ПВХ- или ТПО-мембраны; 11 - теплоизоляция; 12 - несущая железобетонная плита; 13 - пароизоляция; 14 - телескопический крепеж; 75 - строительная пена; 16 - дополнительный сварной шов шириной 20 мм
Рисунок Ж.7 - Примыкание кровли к «горячей» трубе

1 - плитный утеплитель; 2 - основной водоизоляционный ковер из ПВХ- или ТПО-мембраны; 3 - сварной шов шириной 30 мм; 4 - дополнительный слой водоизоляционного ковра из ПВХ- или ТПО-мембраны; 5 - защитный слой из геотекстиля плотностью не менее 350 г/м2; 6 - влагостойкая антисептированная фанера толщиной 12 мм; 7 - пароизоляция; 8 - несущий профнастил
Рисунок Ж.8 - Ходовая дорожка

1 - основной слой водоизоляционного ковра из ПВХ- или ТПО-мембраны; 2 - теплоизоляция; 3 - сварной шов шириной 30 мм; 4 - телескопический крепеж; 5 - дополнительный слой водоизбляционного ковра из ПВХ- или ТПО-мембраны; 6 - металлическая прижимная рейка; 7 - крепежный элемент; 8 - герметик; 9 - дополнительный сварной шов шириной 20 мм; 10 - несущая стена; 11 - двухсторонняя самоклеющаяся лента для фиксации пароизоляции; 12 - пароизоляция; 13 - выравнивающая затирка из цементно-песчаного раствора; 14 - несущая железобетонная плита; 15 - штукатурный слой
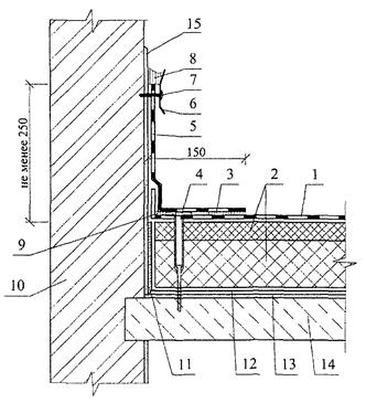
Рисунок Ж.9 - Примыкание кровли к стене

1 - основной слой водоизоляционного ковра из ПВХ-или ТПО-мембраны; 2 - сварной шов шириной 30 мм; 3 - дополнительный сварной шов шириной 20 мм; 4 - крепежный элемент; 5 - слив через парапет; 6 - дополнительный слой водоизоляционного ковра из ПВХ-или ТПО-мембраны; 7 - металлическая прижимная рейка; 8 - герметик; 9 - штукатурный слой; 10 - местное понижение у воронки; 11 - теплоизоляция; 12 - несущая железобетонная плита; 13 - выравнивающий слой из цементно-песчаного раствора; 14 - пароизоляция; 15 - телескопический крепеж; 16 - двухсторонняя клейкая лента для фиксации пароизоляции; 17 - наружная стена; 18 - водосборный бак; 19 - хомут; 20 - водосточная труба
Рисунок Ж.10 - Примыкание кровли к сливу через парапет

1 - основной слой водоизоляционного ковра из ПВХ- или ТПО-мембраны; 2 - теплоизоляция; 3 - сварной шов шириной 30 мм; 4 - телескопический крепеж; 5 - крепежный элемент; 6 - перелив через парапет; 7 - дополнительный слой водоизоляционного ковра из ПВХ- или ТПО-мембраны; 8 - металлическая прижимная рейка; 9 - герметик; 10 - штукатурный слой; 11 - дополнительный сварной шов шириной 20 мм; 12 - наружный стена; 13 - двухсторонняя клейкая лента для фиксации пароизоляции; 14 - пароизоляция; 15 - выравнивающий слой из цементно-песчаного раствора; 16 - несущая железобетонная плита; 17 - водосборный бак; 18 - хомут; 19 - водосточная труба
Рисунок Ж.11 - Примыкание кровли к аварийному переливу через парапет
Покрытия (крыши) с кровлей из штучных материалов и волнистых листов
Таблица З.1 - Схемы крыши
|
|
|
1 - сборная или монолитная железобетонная плита; 2 - обшивка из гипсокартона или прессованного хризотилцементного листа и т.п.; 2¢ - каркас под обшивку; 3 - пароизоляция; 4 - плитный утеплитель; 5 - ветрозащитный слой; 6 - двухканальный вентиляционный зазор; 7 - контробрешетка; 8 - обрешетка; 9 - металлический волнистый лист (профнастил); 10 - волнистый хризотилцементный или цементноволокнистый лист; 11 - битумный волнистый лист; 12 - металлочерепица или композитная черепица; 13 - гидрозащитная пленка (таблица 3.1); 14 - битумная черепица; 15 - сплошной настил; 16 - стропило; 16¢ - стропило из термопрофиля; 16" - деревянный брус; 17 - цементно-песчаная или керамическая черепица; 18 - дополнительная теплоизоляция; 19 - ветро- гидрозащитная пленка (таблица 3.2); 20 - одноканальный вентиляционный зазор; 21 - металлическая зубчатая пластина, приклеенная битумом; 22 - битум; 23 - битумный рулонный материал, прибитый к сплошному настилу; 24 - теплоизоляция из пеностекла с коэффициентом паропроницаемости равным 0 мг/(м×ч×Па); 25 - несущий профилированный настил; 26 - рулонный битумный или битумно-полимерный материал; 27 - затирка из цементно-песчаного раствора |
|
Схема неутепленной крыши |
|
|
|
1 - контробрешетка; 2 - обрешетка; 3 - сплошной настил; 4 - металлический волнистый лист (профнастил); 5 - волнистый хризотилцементный или цементно-волокнистый лист; 6 - битумный волнистый лист; 7 - металлочерепица или композитная черепица; 8 - гидрозащитная пленка (таблица 3.2); 9 - битумная черепица; 10 - стропило; 11 - стропило из легких стальных тонкостенных конструкций; 12 - вентиляционный канал |
Таблица З.2 - Показатели диффузионных (подкровельных) пленок Опечатка.
|
Наименование показателя, ед. измерения |
Ветро-гидрозащитная пленка (укладывается по утеплителю с одним вентиляционным зазором) |
Гидрозащитная пленка (укладывается только с двумя вентиляционными зазорами) |
|
1. Паропроницаемость, г/м2 за 24 ч |
> 600 |
- |
|
2. Разрывная нагрузка при растяжении (вдоль и поперек полотнища материала), Н/5 см |
³ 117,6 |
³ 196 |
|
3. Водонепроницаемость, м водяного столба |
> 1 |
> 0,2 |
|
4. Рабочая температура, °С |
-40 ... +100 |
-40 ... +80 |
|
5. Стойкость к ультрафиолетовым лучам, мес |
> 4 |
> 4 |
Примеры решения деталей кровли из цементно-песчаной черепицы

1 - черепица; 2 - обрешетка; 3 - контробрешетка; 4 - гидрозащитная пленка; 5 - утеплитель; 5а - ветрозащитный слой (из стеклохолста); 6 - карнизная доска; 7 - капельник; 8 - крепление желоба; 9 - водосточный желоб; 10 - подшивка карниза; 11 - трубки ограждения и снегозадержания; 12 - стойка ограждения; 13 - укосина; 14 - опорный кронштейн; 15 - доска крепления; 16 - вентиляционная лента; 17 - фартук свеса; 18 - пароизоляция; 19 - внутренняя обшивка; 20 - гидроизоляция; 21 - П-образная металлическая скоба; 22 - мауэрлат
Рисунок И.1 - Карниз крыши с двумя вентиляционными зазорами

1 - черепица; 2 - обрешетка; 3 - контробрешетка; 4 - ветрогидрозащитная пленка; 4а - гидрозащитная пленка; 5 - утеплитель; 6 - пароизоляция; 7 - коньковая черепица; 8 - аэроэлемент конька; 9 - коньковый брусок; 10 - зажим коньковой черепицы; 11 - крепление конькового бруска; 12 - коньковый прогон; 13 - внутренняя обшивка; 14 - вентиляционный элемент; 15 - болтовое соединение; 16 - столб; 17 - ригель; 18 - приклейка пароизоляции
Рисунок И.2 - Конек крыши с одним вентиляционным зазором (а) и конек кровли с чердаком и вентиляционным элементом в гидрозащитной пленке (б)

1 - черепица; 2 - обрешетка; 3 - контробрешетка; 4 - гидрозащитная пленка; 5 - алюминиевый окрашенный желобок; 6 - сплошной дощатый настил ендовы; 7 - поролоновая полоса; 8 - скоба крепления желоба; 9 - оцинкованный гвоздь; 10 - утеплитель с покровным (ветрозащитным) слоем; 11 - пароизоляция; 12 - внутренняя обшивка
Рисунок И.3 - Водоотводящий желоб на черепичной кровле неутепленной (а) и утепленной крыши (б)

1 - черепица; 2 - обрешетка; 3 - контробрешетка; 4 - ветрогидрозащитная пленка; 5 - утеплитель; 5 - негорючий утеплитель; 6 - труба; 7 - пароизоляция; 8 - внутренняя обшивка; 9 - дренажный желоб; 10 - рулонный самоклеящийся материал; 11 - каркас вентиляционного канала; 12 - доска; 13 - фартук (капельник); 14 - крепежный элемент; 15 - герметик; 16 - стена; 17 - П-образная металлическая скоба; 18 - гидроизоляция; 19 - брус
Рисунок И.4 - Сопряжение крыши с трубой (а) и стеной (б)
Пример расчета шага обрешетки и длины кровли из цементно-песчаной и керамической черепицы
Цементно-песчаная черепица
Для определения числа рядов черепицы на проектируемой кровле вначале рассчитывают шаг Шобр обрешетки: Шобр = Lчер - Н, где Lчер (длины черепицы) = 420 мм; H (нахлестка черепиц) = 75 - 108 мм в зависимости от уклона (6.1.2).
Зная длину стропила Lстр можно определить количество рядов черепицы п
![]()
где Шкарн - шаг стропил у карниза; Шкарн = 32 - 39 см (рисунок К.1) в зависимости от положения водосточного желоба;
4 см - расстояние от конька до верхней грани обрешетки.
На многоскатных кровлях шаг обрешетки и число рядов черепицы рассчитывают для каждого ската.
Длина кровли (длина обрешетки) зависит от длины здания и применяемой боковой черепицы (рисунок К.2). Точная подгонка длины кровли обеспечивается применением половинчатой черепицы и свободной
Рисунок К.1 - Поперечный разрез черепичной кровли укладкой черепицы (с люфтом 3 мм в каждом стыке черепицы).
1 - боковая левая черепица; 2 - половинчатая черепица; 3 - цельная рядовая черепица; 4 - боковая правая черепица; 5 - шуруп с уплотнительной шайбой
Рисунок К.2 - Схема для расчета длины кровли с боковой (а) и облеченной (б) цементно-песчаной черепицей
Керамическая черепица
Размеры черепицы, расчет длины ската и кровли приведены на рисунках К.3 - К.5.
Рисунок К.3 - План черепицы, поперечный и продольный разрезы
Рекомендуемый уклон кровли - 30°.
Расход на 1 м2 ~ 34 шт.
Средняя длина черепицы в кровле ~ 360 мм;
Средняя ширина черепицы в кровле ~ 180 мм (рисунок К.3).
Шаг обрешетки: при двойной укладке - 145 - 165 мм (рисунок К.4 а) и при корончатой укладке - 290 - 330 мм (рисунок К.4 б).
Рисунок К.4 - Поперечный разрез кровли (скат кровли) при двойной (а) и при корончатой (б) укладке черепицы
LAF - расстояние от конька до обрешетки, равно 100 мм при уклоне кровли до 30°; 90 - 100 мм - от 30 до 45° и 75 - 90 мм - > 45°;
LA - шаг обрешетки;
LAT1 и LAT2 - шаг обрешетки на свесе.
Длина ската будет равна L = LAT1 + LAT2 + LAF + LA´n, где п - число рядов черепицы.
Рисунок К.5 - Продольный разрез кровли с применением на фронтоне боковой черепицы (а) и без применения такой черепицы (б)
Примеры решения деталей кровли из битумной черепицы

1 - битумная черепица; 2 - подкладочный слой; 3 - сплошной настил; 4 - кобылка; 5 - ветро-гидрозащитная пленка; 5¢ - ветрозащитный слой (из стеклохолста); 6 - обрешетка; 7 - мауэрлат; 8 - стропило; 9 - вентиляционный канал; 10 - теплоизоляция; 11 - пароизоляция; 12 - гипсокартон; 13 - анкер крепления стропил и мауэрлата; 14 - каркас карнизного свеса; 15 - подшивка; 16 - капельник; 17 - бруски; 18 - карнизная черепица; 19 - скоба желоба; 20 - железобетонная плита; 21 - гидроизоляция; 22 - соединительный металлический элемент
Рисунок Л.1 - Карнизный узел крыши мансардного этажа (а) и холодного чердака (б)
Разрез по длинной стороне трубы

1 - труба; 2 - гипсокартон; 3 - пароизоляция; 4 - теплоизоляция; 4а - негорючий утеплитель; 5 - настил; 6 - битумная черепица; 7 - рулонный материал; 8 - уголок со стороны конька; 9 - металлическая планка примыкания; 10 - герметик; 11 - передний уголок; 12 - боковой уголок; 13 - стропило; 14 - крепежный элемент; 15 - вентиляционный канал; 16 - ветрогидрозащитная пленка.
Примечание - Уголки из оцинкованной стали толщиной 1 мм.
Рисунок Л.2 - Примыкание кровли к кирпичной трубе
Примеры решения деталей кровли из плиток
Таблица М.1 - Размеры обрешетки [3, 5]
|
Расстояние от нижнего края перекрывающей плитки до верхней кромки плитки предыдущего (перед перекрываемым) ряда U (рисунок М.1), мм |
Шаг обрешётки t, мм, для плитки 200´400 мм |
Шаг обрешетки t, мм, для плитки 300´600 мм |
|
40 |
180 |
260 |
|
50 |
175 |
255 |
|
60 |
170 |
250 |
|
70 |
165 |
245 |
|
80 |
160 |
240 |
|
90 |
155 |
235 |
1 - обрешетка; 2 - плитка типа «СОТ»; 3 - крепежный элемент; 4 - стропило; 5 - сплошной настил на карнизе с гидроизоляционным слоем; 6 - противоветровая кнопка; t - шаг обрешетки; U - расстояние от нижнего края перекрывающей плитки до верхней кромки плитки предыдущего перед перекрываемым ряда
Рисунок М.1 - Схема укладки крупноформатных хризотилцементных плиток по типу «сот»

1 - обрешетка; 2 - стропило; 3 - плитка; 4 - крепежный элемент; 5 - краевая плитка; 6 - скоба для крепления свеса кровли; 7 - противоветровая кнопка; 8 - линия свеса
Рисунок М.2 - Схема укладки крупноформатных хризотилцементных плиток по типу «чешуи»
Примеры решения деталей кровли из волнистых листов

1, 2 и 3 - бруски; 4 - рулонный кровельный материал; 5 и 6 - коньковые детали; 7 - скоба; 8 и 9 - резиновая прокладка и гвоздь; 10 - волнистый лист
Рисунок Н.1 - Конек (ребро) кровли (стропила условно не показаны)

1 - лоток; 2 - листы; 3 - дощатый настил ендовы; 4 - брусок; 5 - шуруп; 6 - уравнительная планка; 7 - гвоздь
Рисунок Н.2 - Ендова кровли

1 - накрываемый край волнистого листа; 2, 3 - скоба; 4 - лотковая деталь; 5 - край волнистого листа; 6, 7 - шайбы; 8 - винт с полукруглой головкой; 9 - заклепка
Рисунок Н.3 - Компенсационный шов

1 - прогон; 2 - крепежный элемент типа «крюк»; 3 - шайба
Рисунок Н.4 - Крепление волнистых листов к металлическим прогонам из швеллера (а) и уголка (б)

1 - уравнительная планка; 2 - лист; 3 - обрешетка; 4 - оцинкованный гвоздь; 5 - резиновая прокладка; 6 - карнизный настил; 7 - шайба; 8 - шуруп; 9 - противоветровая скоба
Рисунок Н.5 - Крепление волнистых листов (а) и схема разбивки обрешетки под листы СВ40/150 (б)

1 - обрешетка; 2 - лист; 3 - гвоздь (шуруп); 4 - уголковая деталь; 5 - герметик; 5¢ - цементно-песчаный раствор; 6 - стена; 7 - стропило; 8 - гидроизоляция из рулонного материала; 9 - мауэрлат
Рисунок Н.6 - Примыкание кровли из волнистых листов к поперечной (а) и продольной (б) стене

1 - прогон; 2 - крепежный элемент; 3 - гребенка; 4 - прижимная скоба; 5 - коньковая деталь; 6 - гайка; 7 - волнистый лист; 8 - уплотнительная шайба; 9 - стальная шайба; 10 - уплотнительная прокладка; 11 - заклепка; 12 - опорный элемент из стальной полосы
Рисунок Н.7 - Конек кровли глухой (а); вентилируемый (б)

1 - битумный, металлический или цементно-волокнистый волнистый лист; 2 - обрешетка (сплошной настил); 3 - контробрешетка; 4 - уплотнитель с вентиляционными отверстиями; 5 - скоба для лотка; 6 - подшивка карниза; 7 - каркас карнизного свеса; 8 - ветрогидрозащитная пленка; 9 - анкер крепления стропила и мауэрлата; 10 - стена; 11 - мауэрлат; 12 - гипсокартон; 13 - пароизоляция; 14 - брусок; 15 - теплоизоляция; 16 - коньковый элемент; 17 - гвоздь с закрывающейся шляпкой; 18 - стропило; 19 - вентиляционный канал с шагом 0,5 м в контробрешетке
Рисунок Н.8 - Карнизный (а) и коньковый (б) узлы кровли из волнистых листов

1 - волнистый лист; 2 - обрешетка; 3 - контробрешетка; 4 - уплотнитель без вентиляционных отверстий; 5 - гвоздь с закрывающейся шляпкой; 6 - коньковый элемент; 7 - венттруба; 8 - ветро-гидрозащитная пленка; 9 - теплоизоляция; 10 - пароизоляция; 11 - гипсокартон; 12 - брусок; 13 - щипцовое окно; 14 - фартук; 15 - вертикальная часть фартука; 16 - герметизирующая лента; 17 - металлическая планка; 18 - дюбель; 19 - герметик; 20 - минвата (негорючая); 21 - кирпичная труба
Рисунок Н.9 - Коньковый узел (а) с вентиляцией через венттрубу и примыкание кровли к кирпичной трубе (б)
Примеры решения деталей кровли из металлочерепицы

1 - несущая плита; 2 - пароизоляция; 3 - теплоизоляция; 4 - дополнительная теплоизоляция по периметру здания; 5 - мауэрлат; 6 - стропило; 7 - контробрешетка; 8 - металлочерепица; 9 - обрешетка; 10 - карнизная планка (капельник); 11 - скоба желоба; 12 - подшивка карниза; 13 - каркас карнизного свеса; 14 - стена; 15 - щипцовое окно; 16 - снегозадерживающее устройство; 17 - гипсокартон; 18 - брусок; 19 - анкер стропила и мауэрлата; 20 - ветрогидрозащитная пленка; 20а - ветрозащитный слой (из стеклохолста); 21 - металлический удерживающий элемент
Рисунок П.1 - Карнизный узел кровли холодного чердака (а) и крыши мансарды (б)

1 - металлочерепица; 2 - обрешетка; 3 - контробрешетка; 4 - гвоздь с закрывающейся шляпкой; 5 - коньковый элемент; 6 - ветрогидрозащитная пленка; 7 - теплоизоляция; 8 - пароизоляция; 9 - гипсокартон; 10 - брусок; 11 - щипцовое окно; 12 - уплотнитель; 13 - вытяжка
Рисунок П.2 - Коньковый узел кровли с вентиляцией через коньковый элемент (а) и через вытяжную трубу (б)

1 - металлочерепица; 2 - контробрешетка; 3 - обрешетка; 4 - лист водоотводящего желоба; 5 - сплошной настил; 6 - гидроизоляционная пленка; 7 - пароизоляция; 8 - теплоизоляция; 9 - гипсокартон
Рисунок П.3 - Водоотводящий желоб

1 - металлочерепица; 2 - брусок; 3 - деревянный настил; 4 - контробрешетка; 5 - обрешетка; 6 - битумный самоклеящийся рулонный материал; 7 - металлическая деталь; 8 - дюбель; 9 - герметик; 10 - гипсокартон; 11 - пароизоляция; 12 - минвата (негорючая); 13 - теплоизоляция; 14 - брусок; 15 - крепление ветрогидрозащитной пленки двухсторонней липкой лентой; 16 - труба; 18 - ветро-гидроизоляционная пленка; 18а - ветрозащитный слой (из стеклохолста); 19 - гидрозащитная пленка
Рисунок П.4 - Примыкание кровли к кирпичной трубе
Покрытия (крыши) с кровлей из металлических листов
Таблица Р.1 - Конструктивные решения покрытия (крыши)
|
Экспликация |
|
|
|
1 - несущая железобетонная плита; 2 - пароизоляция; 2¢ - битумный рулонный материал, прибитый к настилу; 3 - утеплитель; 4 - ветрозащитный слой (например, из стеклохолста, стеклоткани); 5 - двухканальный вентиляционный зазор; 6 - обрешетка; 6¢ - сплошной деревянный настил; 7 - кровля из меди или цинк-титана; 7¢ - кровля из оцинкованных листов 7" - кровля из алюминия; 8 - контробрешетка; 9 - объемная диффузионная мембрана; 9¢ - гидрозащитная пленка; 9" - структурный мат; 10 - стропило; 10¢ - стропило - термопрофиль из ЛСТК; 10" - стропило из ЛСТК; 11 - гипсокартон или плоский хризотилцементный лист; 11¢ - каркас под обшивку из гипсокартона или плоского хризотилцементного листа; 12 - приклейка битумом; 13 - теплоизоляция из пеностекла с коэффициентом паропроницаемости равным 0 (мг/м×ч×Па); 13 - теплоизоляция из пенополиуретановых плит с деревянными вкладышами; 14 - рулонный битумный материал; 15 - одноканальный вентиляционный зазор; 16 - ветрогидрозащитная пленка; 17 - выравнивающая затирка из цементно-песчаного раствора; 18 - металлическая зубчатая пластина 150´150 мм, приклеенная битумом; 19 - профилированный настил; 20 - дополнительная теплоизоляция; 21 - брусок |
|
|
|
|
|
|
|
|
|
|
Схема неутепленной крыши |
|
|
|
Таблица Р.2 - Совместимость металлических материалов для кровли [6]
|
Медь |
Нержавеющая сталь |
Оцинкованная сталь |
Цинк-титан |
Алюминий |
|
|
Медь |
+ |
+ |
- |
- |
- |
|
Нержавеющая сталь |
+ |
+ |
+ |
+ |
+ |
|
Оцинкованная сталь |
- |
+ |
+ |
+ |
+ |
|
Цинк-титан |
- |
+ |
+ |
+ |
+ |
|
Алюминий |
- |
+ |
+ |
+ |
+ |
|
Свинец |
+ |
+ |
+ |
+ |
+ |
Таблица Р.3 - Физико-механические показатели металлических материалов для кровли [6]
|
Медь |
Нержавеющая сталь |
Оцинкованная сталь |
Цинк-титан |
Алюминий |
|
|
1. Плотность, т/м3 |
8,93 |
7,7 - 7,9 |
7,8 |
7,2 |
2,7 |
|
2. Коэффициент линейного расширения, мм/(м×°С) |
0,017 |
0,011 - 0,016 |
0,012 |
0,022 |
0,024 |
|
3. Временное сопротивление растяжению, МПа |
220 - 260 |
530 - 700 |
255 - 490 |
120 - 140 |
80 - 120 |
|
4. Относительное удлинение, % |
33 |
45 - 50 |
21 - 26 |
30 |
30 - 40 |
Примеры решения деталей кровли из металлических листов

1 - стенка; 2 - основание кляммера; 3 - отверстие для крепления
Рисунок С.1 - Скользящий кляммер кровли из меди и цинк-титана

Рисунок С.2 - Компенсационный стык

1 - зона картины с подвижными кляммерами; 2 - зона картины с неподвижными (жесткими) кляммерами
Рисунок С.3 - Зона расположения неподвижных (жестких) кляммеров на одну картину длиной не более 10 м в зависимости от уклона кровли

а - на кровлях с уклоном от 5 до 9° (9 - 16 %); б - на кровлях с уклоном от 10 до 24° (18 - 45 %); в - на кровлях с уклоном от 25° (47 %); 1 - стропило; 2 - обрешетка; 3 - доборный брус; 4 - доска; 5 - объемная диффузионная мембрана; 6 - костыль; 7 - металлическая полоса; 8 - кровля из металлических листов; 9 - фальшпланка; 10 - припой; 11 - загнутый край нижней картины; 12 - загнутый край верхней картины
Рисунок С.4 - Деформационный поперечный шов

а - на кровлях с уклоном от 5 до 9° (9 - 16 %); б - на кровлях с уклоном от 10 до 24° (18 - 45 %); в - на кровлях с уклоном от 25° (47 %); 1 - стропило; 2 - обрешетка; 3 - доборный брус; 4 - доска; 5 - объемная диффузионная мембрана; 6 - костыль; 7 - металлическая полоса; 8 - кровля из металлических листов; 9 - фальшпланка; 10 - припой; 11 - загнутый край нижней картины; 12 - загнутый край верхней картины
Рисунок С.5 - Водоотводящий желоб
Примеры решения деталей кровли из железобетонных лотковых панелей

а - с внутренним водоотводом; б - с неорганизованным водоотводом; 1 - железобетонная кровельная панель; 2 - железобетонный П-образный нащельник; 3 - железобетонный водосборный лоток; 4 - водосточная воронка; 5 - подкладочная балка под лоток; 6 - опорная балка; 7 - опорный столик; 8 - утепленная панель перекрытия; 9 - треугольный анкерный элемент; 10 - опорная фризовая панель; 11 - ограждение крыши; 12 - торцовая фризовая панель
Рисунок Т.1 - Конструктивные схемы кровель из железобетонных лотковых панелей

а - стык с перекрытием П-образным нащельником; б - стык внахлестку; 1 - кровельная панель; 2 - П-образный нащельник; 3 - герметик; 4 - основная водосливная поверхность кровельных панелей; 5 - уплотнитель
Рисунок Т.2 - Конструкции стыков кровельных панелей

1 - кровельная панель; 2 - П-образный нащельник; 3 - водосборный лоток; 4 - подкладочная балка под водосборный лоток; 5 - парапетная фризовая панель; 6 - герметик
Рисунок Т.3 - Конструкции свесов
|
МГСН 4.19-05 «Многофункциональные высотные здания и комплексы» |
|
|
Ханс Петер Айзерло. Изоляция плоских кровель. Конструктивные системы - материалы - технологии - детали. Изд. Дом «Бизнес Медиа». - М., 2007, с. 207 - 247. |
|
|
Йожеф Косо. «Крыши и кровельные работы». ЗАО «Издательская группа «Контэнт». - М, 2007, с. 156 - 271. |
|
|
Ханс-Юрген Стерли, Хорст Беттгер, Хейно Вальтер. «Все о кровле из керамической черепицы». Изд. Дом «Бизнес Медиа». - М., 2007, с. 310 - 366. |
|
|
Хризотилцементные строительные материалы. Область применения. Екатеринбург; Изд-во АМБ, 2009 г. |
|
|
Клаус Зипенкорт. Работы по устройству металлических кровель и фасадов. Материалы, обработка, детали. Изд. Дом «Бизнес Медиа». - М., 2007, с. 15 - 36, 43, 139 - 157. |
|
|
RHEJNZINK® - Руководство по устройству металлической кровли с применением техники фальца. - М., 2-е издание, 2008. |
|
|
Проектирование крыш многоэтажных жилых зданий. Метод, указ. / Сост. Н.В. Кузнецова. - Тамбов: Изд. Тамб. гос. техн. ун-та, 2007, 32 с. |
|
|
СП 23-101-2004. Проектирование тепловой защиты зданий Опечатка. |
|
|
Фокин К.Ф. Строительная теплотехника ограждающих частей зданий, ООО ИИП «АВОК-ПРЕСС». - М., 2006, с. 122. |
|
|
Реттер Э.П., Стриженов СИ. Аэродинамика зданий. - М.: Стройиздат, 1968. [12] Справочник по климату СССР, вып. 3. Ветер. - М.: Гидрометеоиздат, 1966. |
|
|
Идельчик И.Е. Справочник по гидравлическим сопротивлениям. - М.: Госэнергоиздат, 1960. |
Ключевые слова: кровля, основание под кровлю, инверсионная кровля, наплавляемый рулонный материал, обрешетка, контробрешетка, диффузионные пленки, черепица, волнистые листы, листовые материалы, кровельные плитки, ПВХ-мембраны, ТПО-мембраны, пароизоляция