На главную | База 1 | База 2 | База 3

Открытое акционерное общество

Проектно-конструкторский и технологический
институт промышленного строительства
ОАО ПКТИпромстрой

УТВЕРЖДАЮ

Генеральный директор, к. т. н.

_____________ С. Ю. Едличка

14.03.2003 г.

ТЕХНОЛОГИЧЕСКАЯ КАРТА
НА ЭЛЕКТРООБОГРЕВ МОНОЛИТНЫХ КОНСТРУКЦИЙ
ГРЕЮЩЕЙ ОПАЛУБКОЙ С ТРУБЧАТЫМИ ЭЛЕКТРОНАГРЕВАТЕЛЯМИ

40-03 ТК

Главный инженер

____________ A. B. Колобов

Начальник отдела

_________ Б. И. Бычковский

2003

В карте приведены организационно-технологические и технические решения по электрообогреву монолитных конструкций греющей опалубкой с трубчатыми электронагревателями, реализация которых при производстве монолитных бетонных и железобетонных работ в зимних условиях при отрицательных температурах воздуха должна способствовать ускорению работ, снижению затрат труда и повышению качества возводимых конструкций в зимних условиях.

В технологической карте приведены область применения, организация и технология выполнения работ, освещены вопросы качества работ, безопасности и охраны труда, экологической и пожарной безопасности работ, приведены указания по организации рабочего места, дана потребность в материально-технических ресурсах, приведены технико-экономические показатели.

Исходные данные и конструктивные решения, применительно к которым разработана карта, приняты с учетом требований СНиП, а также условий и особенностей, характерных для строительства в г. Москве.

Технологическая карта предназначена для инженерно-технических работников строительных и проектных организаций, а также производителей работ, мастеров и бригадиров, связанных с производством монолитных бетонных и железобетонных работ при отрицательных температурах воздуха.

Карта может применяться самостоятельно, а также в составе проекта производства работ в качестве технологического документа при производстве работ на строительных объектах.

Настоящая карта разработана сотрудниками ОАО ПКТИпромстрой:

Савина О. А., Фролов С. В. - исполнители работы, компьютерная обработка и графика;

Черных В. В. - технологическое сопровождение;

Холопов В. Н. - проверка технологической карты;

Бычковский Б. И. - техническое руководство, нормоконтроль и корректура разработки;

Колобов А. В. - общее техническое руководство разработкой технологических карт;

к. т. н. Едличка С. Ю. - общее руководство разработкой технологических карт.

1 ОБЛАСТЬ ПРИМЕНЕНИЯ

1.1 Сущность электрообогрева монолитных конструкций греющей опалубкой, в которой используются трубчатые электронагреватели (ТЭНы), заключается в непосредственной передаче тепла от греющих поверхностей опалубки к прогреваемому бетону.

1.2 Областью применения электрообогрева монолитных конструкций греющей опалубкой с трубчатыми электронагревателями (далее по тексту электрообогрева конструкций) в соответствии со СНиП 3.03.01-87 «Несущие и ограждающие конструкции» являются фундаменты под конструкции зданий и оборудование, массивные стены и т.п. с модулем поверхности 3 - 6, который определяется отношением суммы площадей охлаждаемых поверхностей конструкций к ее объему и имеет размерность М-1; колонны, балки, прогоны, элементы рамных конструкций, свайные ростверки, стены, перекрытия с модулем поверхности 6 - 10; полы, перегородки, плиты перекрытий, тонкостенные конструкции с модулем поверхности 10 - 20, бетонирование которых производится при минимальной температуре воздуха до минус 40° С.

1.3 В технологической карте приводятся:

- конструкция греющей опалубки;

- указания по подготовке конструкций к бетонированию и требования к готовности предшествующих работ и строительных конструкций;

- схемы организации рабочей зоны на время производства работ;

- методы и последовательность производства работ, описание процесса подключения греющей опалубки и осуществление с ее помощью обогрева монолитных конструкций;

- электротехнические характеристики электрообогрева конструкций в зависимости от температуры наружного воздуха;

- профессиональный и численно-квалификационный состав рабочих;

- график выполнения работы и калькуляция трудовых затрат;

- указания по контролю качества и приемке работы;

- решения по безопасности и охране труда;

- потребность в необходимых материально-технических ресурсах, электротехническом оборудовании и эксплуатационных материалах;

- рекомендации по энергосбережению;

- технико-экономические показатели.

1.4 Расчет электрообогрева произведен применительно к бетонированию 2-х монолитных стен длиной 6 м, высотой 3 м и толщиной 0,4 м с общим объемом бетона 14,4 м3, исходя из температуры наружного воздуха минус 20 °С и достижения прочности конструкций к моменту остывания бетона до 0 °С не менее 50 % от R28. Конструкция опалубки металлическая, оборудованная, как показано на рисунке 1, трубчатыми электронагревателями с теплоотражающим экраном, теплоизоляция опалубки - минераловатные плиты толщиной 50 мм с защитной поверхностью из фанеры толщиной 3 мм.

Гидроизоляция открытых поверхностей бетона - полиэтиленовая пленка, теплоизоляция - минераловатные маты толщиной 50 мм.

1.5 Численно-квалификационный состав рабочих, график работы и калькуляция трудовых затрат, а также потребность в необходимых ресурсах определены в соответствии с данными, приведенными в п. 1.4.

1.6 При привязке настоящей технологической карты к конкретной конструкции и условиям строительства корректируются объемы работ, калькуляция трудовых затрат, потребность в материально-технических ресурсах и электрические параметры.

2 ОРГАНИЗАЦИЯ И ТЕХНОЛОГИЯ ВЫПОЛНЕНИЯ РАБОТ

2.1 До начала работ по электрообогреву монолитных конструкций выполняют следующие подготовительные операции:

- на ровной площадке на расстоянии не более 25 м от участка электрообогрева конструкции устанавливают трансформаторную подстанцию типа КТП ТО-80/86 или другие трансформаторы, используемые для этих целей;

- подключают КТП ТО-80/86 к питающей сети и опробывают на холостом ходу;

- устанавливают инвентарные трехфазные секции шинопроводов и соединяют шинопроводы между собой, как показано на рисунке 2;

- устанавливают секции шинопроводов у обогреваемых конструкций согласно схеме организации рабочей зоны, как показано на рисунке 3;

- очищают при необходимости от мусора, снега, наледи опалубку и арматуру;

- устанавливают опалубку, арматурные сетки и каркасы в рабочее положение (допускается применение инвентарной опалубки различных конструкций и типов);

- устанавливают ограждение рабочей зоны и проводят сигнализацию и освещение, рабочую зону оборудуют в соответствии с требованиями безопасности труда и проводят инструктаж на рабочем месте по безопасности и охране труда.

2.2 Производят коммутацию щитов греющей опалубки между собой и в соответствии со схемой подключают их к секциям шинопроводов, как показано на рисунке 4.

2.3 Подключают шинопроводы к питающей сети, как показано на рисунке 5.

1 - трубчатые электронагреватели (ТЭНы); 2 - стальная палуба щита; 3 - стальной хомут; 4 - минераловатные маты толщиной 50 мм; 5 - пружинная шайба; 6 - плата из теплостойкого материала, оклеенная фольгой с укрепленными на ней ТЭНами; 7 - шпилька 10 мм с резьбой для крепления защитной крышки; 8 - защитная крышка из фанеры толщиной 3 мм

Рисунок 1 - Конструкция щитов опалубки с трубчатыми электронагревателями

1 - разъем; 2 - деревянная стойка; 3 - болты; 4 - токопроводы (полоса 3 × 40 мм)

Рисунок 2 - Инвентарная секция шинопроводов (крайняя секция)

2.4 Перед подачей напряжения на греющую опалубку проверяют правильность ее установки и подключения, качество контактов, расположение температурных скважин и установленных датчиков температуры, правильность укладки утеплителя.

2.5 Напряжение на щиты греющей опалубки подают в соответствии с расчетными электрическими параметрами, которые приведены в таблице 1.

Таблица 1

Электрические параметры электрообогрева греющей опалубкой

Температура наружного воздуха, °С

Напряжение питания нагревателей, В

Удельная мощность. Вт/м2

Сила тока, А на 1 щит

разогрев

изотермический прогрев

разогрев

изотермический прогрев

разогрев

изотермический прогрев

- 5

65

55

350

250

3,2

2,7

- 10

75

55

465

250

3,7

2,7

- 15

85

65

600

350

4,2

3,2

- 20

95

65

750

350

4,7

3,2

2.6 Дежурный электрик после подачи напряжения повторно проверяет все контакты, устраняет причину короткого замыкания, если оно произошло. В течение 2-х часов производят предварительный обогрев опалубки и арматуры.

2.7 После укладки бетонной смеси в опалубку сразу укрывают открытые поверхности бетона гидроизоляцией (полиэтиленовая пленка) и теплоизоляцией (минераловатные маты толщиной 50 мм) и начинают электрообогрев конструкции в соответствии с электрическими параметрами. Температура уложенного бетона принята + 15 °С.

1 - монолитная железобетонная стена в металлической опалубке; 2 - инвентарные трехфазные секции шинопроводов; 3 - трансформаторная подстанция КТП ТО-80/86; 4 - диэлектрический коврик; 5 - инвентарное ограждение; 6 - прожектор; 7 - сигнальная лампочка красного цвета; А, Б, В - фазы шинопроводов

Рисунок 3 - Схемы организации рабочей зоны электрообогрева

1 - монолитная железобетонная стена; 2 - металлические щиты греющей опалубки с трубчатыми нагревателями (ТЭНы); 3 - перемычка из провода АПР - 4 мм2; 4 - провода АПР - 6 мм2 для подключения щитов к инвентарным секциям шинопроводов; 5 - полиэтиленовая пленка; 6 - минераловатные маты, толщиной 50 мм; 7 - температурная скважина Æ 20 мм

Рисунок 4 - Схема коммутации щитов греющей опалубки с трубчатыми электронагревателями

А, Б, В - фазы шинопроводов

Рисунок 5 - Схема подключения шинопроводов к питающей сети и к щитам греющей опалубки

Набор прочности бетона при различных температурах его выдерживания определяется графиком, показанным на рисунке 6.

а, в - для бетона класса В25 на портландцементе активностью 400 - 500;

б, г - для бетона класса В25 на шлакопортландцементе активностью 300 - 400

Рисунок 6 - Кривые набора прочности бетоном при различных температурах его выдерживания

2.8 Пример определения прочности бетона по графику приведен ниже.

Пример: Определить прочность бетона в конструкции с Мп = 4 на портландцементе марки 400 при скорости подъема температуры 10 °С в час, температуре изотермического прогрева 70 °С, его продолжительности 12 ч и остывании со скоростью 5 °С в час до конечной температуры 8 °С.

Решение:

1 Определить величину относительной прочности за период подъема температуры:

продолжительность подъема температуры

при средней температуре  °С

Для этого из точки «А» согласно рисунку 7 проводим перпендикуляр до пересечения с кривой прочности при 40 °С (точка «Б).

Величина прочности за время подъема температуры определяется проекцией точки «Б» на ось ординат (точка «В») и составляет 15 %.

Определяем прирост относительной прочности при изотермическом прогреве за 12 часов как проекцию участка (точки «Л» и «К») кривой прочности при 70 °С (отрезок «ВЗ»), что соответствует 46 % R28.

Определяем прирост прочности бетона за 12 часов остывания по кривой прочности при 38 °С как проекцию участка «ЖГ» на ось ординат. Отрезок «ЗИ» соответствует 9 % R28.

За весь цикл термообработки бетон приобретает прочность 15 + 46 + 9 = 70 % R28.

Для каждого конкретного состава бетона строительной лабораторией должен быть уточнен на опытных образцах-кубах оптимальный режим выдерживания.

Рисунок 7 - Пример определения прочности бетона по графику

2.9 Каждые два часа изотермического прогрева замеряют температуру бетона. Для замеров температуры используют технические термометры. Число точек измерения температуры устанавливают в среднем из расчета не менее одной точки на каждые 3 м3 бетона, 6 м длины конструкции, 5 м2 площади перекрытия, 40 м2 площади подготовки полов и т.д.

2.10 Обогрев бетонной смеси в конструкции осуществляют в соответствии с приведенным на рисунке 8 графиком при скорости подъема температуры 5 °С/час. В период разогрева температура бетона контролируется не реже, чем через 1 час.

Разогрев бетонной смеси и изотермическую выдержку осуществляют посредством греющей опалубки в соответствии с расчетными параметрами по таблице 1.

Остывание бетона происходит самопроизвольно после отключения напряжения, однако демонтаж электрооборудования производят после окончания периода остывания во избежание внезапного резкого понижения температуры бетона.

Рисунок 8 - График обогрева бетонной смеси

2.12 Скорость разогрева бетона регулируют повышением или понижением напряжения на низкой стороне трансформатора.

2.13 В процессе электрообогрева при увеличении или уменьшении температуры наружного воздуха относительно расчетной соответственно понижают или повышают напряжение на низкой стороне трансформатора.

2.14 Электрообогрев осуществляется на пониженном напряжении 65 - 95 В.

2.15 Регулирование температуры бетона рекомендуется производить с использованием системы автоматики температурного контроля и регулирования режимов обогрева (блок-приставки к трансформаторам конструкции ЦНИИОМТП) с термодатчиками, устанавливаемыми в скважину, как показано на рисунке 9.

2.16 Скорость остывания бетона по окончании тепловой обработки для конструкции с модулем поверхности Мп = 5 - 10 и Мп > 10 - соответственно не более 5 °С и 10 °С в час. Температуру наружного воздуха замеряют один-два раза в сутки, результаты замеров фиксируют в журнале.

2.17 Не реже двух раз в смену, а в первые три часа с начала обогрева бетона через каждый час, измеряют силу тока и напряжение питающей сети. Визуально проверяют отсутствие искрения в местах электрических соединений, обрывов соединительных проводов.

2.18 Прочность бетона проверяют по фактическому температурному режиму. Прочность бетона после распалубливания рекомендуется определять с помощью молотка конструкции НИИМосстроя, ультразвуковым способом или высверливанием и испытанием кернов.

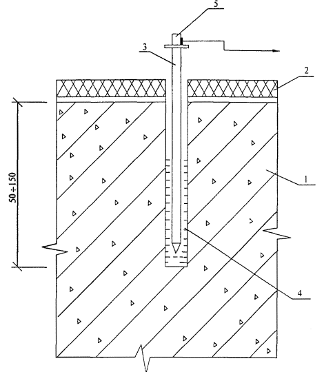
1 - монолитная конструкция; 2 - утеплитель; 3 - пенал из тонкостенной стальной трубки; 4 - индустриальное масло; 5 - термодатчик

Рисунок 9 - Установка термодатчика в обогреваемой конструкции

2.19 Теплоизоляция и опалубка могут быть сняты не ранее того момента, когда температура бетона в наружных слоях конструкции достигает плюс 5 °С и не позже, чем слои остынут до 0 °С. Не допускается примерзание опалубки, гидро- и теплоизоляции к бетону.

2.20 Для предотвращения появления трещин в конструкциях перепад температур между открытой поверхностью бетона и наружным воздухом не должен превышать:

20 °С для монолитных конструкций с Мп < 5;

30 °С для монолитных конструкций с Мп > 5.

В случае невозможности соблюдения указанных условий поверхность бетона после распалубливания укрывают брезентом, толью, щитами и т.д.

2.21 Укладку бетонной смеси в конструкцию при отрицательных температурах воздуха производят с учетом следующих требований:

- способ укладки должен исключать возможность замерзания бетона до приобретения им требуемой прочности;

- снимать наледь с опалубки, арматуры с помощью пара или горячей воды не допускается;

- при температуре воздуха ниже минус 10 °С арматуру диаметром более 25 мм, а также арматуру прокатных профилей и крупные металлические закладные детали следует отогревать до положительной температуры, все выступающие закладные части и выпуски должны быть утеплены;

- укладку бетонной смеси производят непрерывно, без перевалок, средствами, обеспечивающими минимальное охлаждение смеси при ее подаче;

- температура бетонной смеси, уложенной в опалубку, должна быть не ниже плюс 5 °С.

2.22 Электрообогрев монолитной конструкции выполняет звено из 3-х человек, квалификация которых и выполняемые ими операции представлены в таблице 2.

Таблица 2

Распределение операций по исполнителям

№ п/п

Состав звена по профессиям

Кол. чел.

Перечень работ

1

Электромонтер V разряда

1

Подсоединения КПТ ТО-80/86 к питающей сети и к секциям шинопровода

2

Электромонтер III разряда

1

Расстановка шинопроводов, коммутация щитов опалубки, расстановка секций ограждения, контроль за электрообогревом конструкций

3

Бетонщик III разряда

1

Расстановка секций ограждения, укрытие открытых поверхностей гидро- и теплоизоляцией

2.23 Электрообогрев осуществляется в следующей последовательности:

- электромонтеры V и III разрядов устанавливают в рабочее положение трансформаторную подстанцию;

- электромонтер III разряда расставляет секции шинопроводов;

- бетонщик III разряда и электромонтер III разряда устанавливают защитное ограждение;

- электромонтеры V и III разрядов проводят соединение щитов опалубки, секций шинопроводов, трансформаторной подстанции;

- бетонщик III разряда после укладки бетонной смеси производит устройство гидро- и теплоизоляции;

- электромонтер V разряда опробывает работу подстанции на холостом ходу и подает напряжение на опалубку;

- электромонтер III разряда осуществляет контроль во время электрообогрева бетонной смеси.

2.24 Рекомендации по энергосбережению.

В целях энергосбережения при электрообогреве монолитных конструкций в греющей опалубке с применением ТЭНов рекомендуется:

- при определении средств и продолжительности транспортирования бетонной смеси исключать возможность охлаждения ее более чем установлено технологическим расчетом, нарушение однородности и снижение заданной подвижности на месте укладки;

- применение бетонных смесей более высокой относительной прочности при малой продолжительности прогрева смеси с использованием быстротвердеющего портландцемента;

- применение химических добавок для сокращения продолжительности термообработки бетона и получения повышенной прочности бетоном сразу после обогрева; применение максимально допустимой температуры обогрева бетона, сокращение длительности активного прогрева с учетом нарастания прочности бетона при остывании;

- надежно проводить теплоизоляцию поверхностей бетона и опалубки, подвергающихся охлаждению;

- соблюдать режим термообработки;

- следить за качеством и плотностью соединений контактов проводов и кабелей;

- не допускать намокания теплоизоляционных слоев.

2.25 При производстве работ по электрообогреву нагревательными проводами монолитных конструкций следует руководствоваться правилами производства и приемки работ согласно:

- СНиП 3.01.01-85* «Организация строительного производства»;

- СНиП 3.03.01-87 «Несущие и ограждающие конструкции»;

- Руководство по электротермообработке бетона. НИИЖБ Госстроя России;

- Руководство по производству бетонных работ в зимних условиях, районах Дальнего Востока, Сибири и Крайнего Севера. ЦНИИОМТП;

- Рекомендации по технологии возведения конструкций из монолитного бетона и железобетона. ОАО ПКТИпромстрой, М., 1998 г.

3 ТРЕБОВАНИЯ К КАЧЕСТВУ И ПРИЕМКЕ РАБОТ

3.1 Контроль качества электрообогрева монолитных конструкций греющей опалубкой с трубчатыми электронагревателями при отрицательных температурах воздуха производят в соответствии с требованиями СНиП 3.01.01-85* «Организация строительного производства» и СНиП 3.03.01-87 «Несущие и ограждающие конструкции».

3.2 Производственный контроль качества электрообогрева греющей опалубкой монолитных конструкций осуществляют прорабы и мастера с участием специалистов электротехнических служб строительных организаций.

3.3 Производственный контроль включает входной контроль электротехнического оборудования, эксплуатационных материалов и бетонной смеси, операционный контроль отдельных производственных операций и приемочный контроль качества монолитной конструкции.

3.4 При входном контроле электротехнического оборудования, эксплуатационных материалов и бетонной смеси проверяют внешним осмотром их соответствие нормативным и проектным требованиям, а также наличие и содержание паспортов, сертификатов и других сопроводительных документов. По результатам входного контроля должен заполняться журнал входного учета и контроля качества получаемых деталей, материалов, конструкций и оборудования.

3.5 При операционном контроле проверяют соблюдение состава подготовительных операций, технологии наладки электрообогревающего оборудования и устройств, укладки бетонной смеси в конструкцию в соответствии с требованиями рабочих чертежей, норм, правил и стандартов, контролируют процесс электрообогрева, температуру, силу тока и напряжение в соответствии с расчетными данными.

3.6 При приемочном контроле проверяют качество монолитной конструкции в результате электрообогрева греющей опалубкой с трубчатыми электронагревателями.

3.7 Скрытые работы подлежат освидетельствованию с составлением актов по установленной форме. Запрещается выполнение последующих работ при отсутствии актов освидетельствования предшествующих скрытых работ во всех случаях.

3.8 Результаты операционного и приемочного контроля фиксируются в журнале работ. Основными документами при операционном и приемочном контроле являются настоящая технологическая карта, указанные в ней нормативные документы, а также перечни операций или процессов, контролируемых производителем работ (мастером), данные о составе, сроках и способах контроля, изложенные в таблице 3.

3.9 Контроль температуры обогреваемого бетона следует производить техническими термометрами или дистанционно с помощью термодатчиков, устанавливаемых в скважину. Число точек измерения температуры устанавливают в среднем из расчета не менее одной точки на каждые 3 м3 бетона, 6 м длины конструкции, 50 м2 площади перекрытия, 40 м2 площади подготовки полов и т.д.

Температуру бетона проверяют не реже чем через 2 часа.

Не реже двух раз в смену, а в первые три часа с начала обогрева бетона через каждый час, измеряют силу тока и напряжение в питающей цепи. В местах соединения проводов не должно наблюдаться искрения.

3.10 При электрообогреве бетонируемых конструкций предельные значения скорости подъема температуры при тепловой обработке и скорости остывания бетона должны быть не выше соответственно 5 °С и 10 °С в час.

3.11 Контроль прочности бетона осуществляют, как правило, по температурному режиму в процессе обогрева и выдерживания конструкций и испытанием образцов, изготовленных у места укладки бетонной смеси.

Прочность прогретого бетона, имеющего положительную температуру, определяют с помощью молотка конструкции НИИМосстроя, ультразвуковым способом либо высверливанием кернов и испытанием.

Таблица 3

Состав и содержание производственного контроля качества

Кто контролирует

Прораб или мастер

Операции, подлежащие контролю

Операции при входном контроле

Подготовительные операции

Операции по укладке бетона в конструкцию и электрообогреву

Операции при приемочном контроле

Состав контроля

Проверка изоляции проводов и работоспособности коммутационной аппаратуры, трансформаторов и др. электрооборудования, используемого в работе

Устройство защитного ограждения и световой сигнализации на участке работ

Очистка основания, опалубки, арматуры от снега, наледи, утепление конструкции

Укладка бетона в монолитную конструкцию

Контроль величины силы тока и напряжения питающей цепи

Контроль температуры бетона

Контроль прочности бетона

Проверка соответствия готовой монолитной конструкции требованиям проекта

Методы контроля

Визуально-инструментальная проверка

Визуально и по приборам

Визуально, инструментально

Время контроля

До начала бетонирования

До и после бетонирования

До и после бетонирования

В процессе электрообогрева бетона

После электрообогрева

Кто привлекается к контролю

Энергетик строительной организации

Мастер, прораб

Электромонтер, лаборатория

Лаборатория, технадзор

4 ТРЕБОВАНИЯ БЕЗОПАСНОСТИ И ОХРАНЫ ТРУДА, ЭКОЛОГИЧЕСКОЙ И ПОЖАРНОЙ БЕЗОПАСНОСТИ

4.1 Электробезопасность на строительной площадке, участках производства работ и рабочих местах при электрообогреве монолитных конструкций необходимо обеспечивать в соответствии с требованиями СНиП 12-03-2001. Лица, занятые на строительно-монтажных работах, должны быть обучены безопасным способам ведения работ, а также уметь оказать первую доврачебную помощь при электротравме.

4.2 В строительно-монтажной организации должен быть инженерно-технический работник, ответственный за безопасную эксплуатацию электрооборудования и устройств организации, имеющий квалификационную группу по технике безопасности не ниже IV.

4.3 При устройстве электрических сетей необходимо предусматривать возможность отключения всех электроустановок в пределах отдельных участков и объектов производства работ.

4.4 Работы, связанные с присоединением (отсоединением) проводов, должны выполняться электриками, имеющими соответствующую квалификационную группу по технике безопасности.

4.5 В течение всего периода эксплуатации электроустановок для электрообогрева бетона рабочая зона должна быть оборудована знаками безопасности по ГОСТ Р 12.4.026-2001.

4.6 Технический персонал, проводящий электрообогрев бетона, должен пройти обучение и проверку знаний квалификационной комиссией по безопасности и охране труда с получением соответствующих удостоверений. Дежурные электромонтеры должны иметь квалификацию не ниже III группы.

4.7 Рабочие, занятые на электрообогреве бетона, должны быть снабжены резиновыми сапогами или диэлектрическими галошами, а электромонтеры, кроме того, испытанными резиновыми перчатками и диэлектрическим инструментом. Подключение нагревательных проводов, замеры температуры техническими термометрами производят при отключенном напряжении и заносятся в журнал.

4.8 Зона, где производится электрообогрев бетона, должна иметь защитное ограждение. На видном месте помещаются предупредительные плакаты, правила по безопасности и охране труда, противопожарные средства. В ночное время ограждение рабочей зоны должно быть освещено. Устанавливаются сигнальные красные лампочки, автоматически загорающиеся при подаче напряжения в линию обогрева.

4.9 Все металлические токоведущие части электрооборудования и арматуру следует надежно заземлить, присоединив к ним нулевой провод питающего кабеля.

При использовании защитного контура заземления перед включением напряжения необходимо проверить сопротивление контура, которое должно быть не более 4 Ом.

Около трансформаторов, рубильников и распределительных щитков устанавливают настилы, покрытые резиновыми ковриками.

4.10 Проверку сопротивления изоляции проводов с помощью мегомметра производит персонал, квалификационная группа которого по технике безопасности не ниже III.

Концы проводов, которые могут оказаться под напряжением, необходимо изолировать или оградить.

Участок электрообогрева бетона должен постоянно находиться под надзором дежурного электрика.

4.11 Запрещается:

- доступ посторонних лиц в зону электрообогрева;

- хождение людей, размещение посторонних предметов на поверхности обогреваемых конструкций;

- подключать под напряжение провода с механическими повреждениями изоляции, а также ненадежно выполненными коммутационными соединениями;

- проводить работы по электрообогреву в сырую погоду, во время оттепели, без ограждения зоны электрообогрева;

- работать при обнаруженной неисправности электропроводки;

- прокладывать провода непосредственно по грунту;

- размещать легковоспламеняющиеся материалы вблизи установок для электрообогрева бетона.

4.12 При производстве работ по электрообогреву монолитных бетонных и железобетонных конструкций греющей опалубкой с трубчатыми электронагревателями необходимо строго соблюдать требования безопасности и охраны труда согласно:

- СНиП 12-03-2001 «Безопасность труда в строительстве. Часть 1. Общие требования»;

- СНиП 12-04-2002 «Безопасность труда в строительстве. Часть 2. Строительное производство;

- ПОТ РМ-016-2001 Межотраслевые правила по охране труда (правила безопасности) при эксплуатации электроустановок;

- ППБ 01-93** Правила пожарной безопасности в Российской Федерации;

- СП 12-135-2002 Безопасность труда в строительстве. Отраслевые типовые инструкции по охране труда.

5 ПОТРЕБНОСТЬ В МАТЕРИАЛЬНО-ТЕХНИЧЕСКИХ РЕСУРСАХ

5.1 Потребность в машинах, механизмах, инвентаре, приспособлениях и материалах для работ по электрообогреву монолитных конструкций греющей опалубкой с трубчатыми электронагревателями определяется с учетом специфики выполняемых работ, назначения и технических характеристик средств механизации в соответствии с таблицей 6.

Таблица 4

Ведомость потребности в машинах, механизмах, инвентаре и материалах

№ п/п

Наименование

Марка, ГОСТ, ТУ

Ед. изм.

Кол.

Техническая характеристика

1

Комплектная трансформаторная подстанция для обогрева бетона

КТП ТО-80/86

шт.

1

Мощность - 80 кВт

Макс, ток - 490 А

Напряжение - 55, 65, 75, 85, 95 В

2

Щиты греющей опалубки, оборудованные трубчатыми электронагревателями

-

шт.

120

Размер щита 500 × 1200 мм

6 ТЭНов в щите

3

Токоизмерительные клещи

Ц-91

шт.

1

 

4

Инвентарные секции шинопроводов

-

шт.

16

Длина секции, м                    1,5

Масса, кг                               10

5

Кабель

КРПТ-3×25+1×16

КРПТ-3×50

АПР-4 мм2

АПР-6 мм2

м

25

40

120

12

 

6

Инвентарное сетчатое ограждение

-

м2

75

h = 1,5 м

7

Изоляционная лента

-

кг

0,5

 

8

Полиэтиленовая пленка

ТС 0,1×1400

ГОСТ 10354-82*

м2

15

Толщина, мм                         d = 0,1

Ширина, м                             b = 1,4

9

Диэлектрические

ТУ 38-106359-79

 

 

 

перчатки

 

пара

2

 

галоши

 

пара

2

 

коврик

 

шт.

1

 

10

Минеральная вата

Марка 50

ГОСТ 9573-96

м2

15

 

11

Противопожарный щит

-

шт.

1

С углекислотным огнетушителем

12

Сигнальные лампочки

-

шт.

5

Напряжение, В 42

13

Прожектор

-

шт.

9

Мощность, Вт 1000

6 ТЕХНИКО-ЭКОНОМИЧЕСКИЕ ПОКАЗАТЕЛИ

6.1 В качестве единицы измерения для составления калькуляции затрат труда и разработки календарного плана производства работ при электрообогреве греющей опалубкой с трубчатыми электронагревателями приняты две монолитные стены с общим объемом бетона 14,4 м3.

6.2 Затраты труда на электрообогрев греющей опалубкой подсчитаны по «Единым нормам и расценкам на строительные, монтажные и ремонтно-строительные работы», введенные в действие в 1987 г. и представлены в таблице 5.

6.3 Продолжительность работы по электрообогреву греющей опалубкой определяется календарным планом производства работ согласно таблице 6.

Таблица 5

Калькуляция затрат труда

Измеритель конечной продукции - 14,4 м3 перекрытия

Обоснование (ЕНиР и др. нормы)

Наименование работ

Ед. изм.

Объем работ

Норма времени

Затраты труда

рабочих, чел.-ч.

машинистов, чел.-ч (работа машин, маш.-ч)

рабочих, чел.-ч.

машинистов, чел.-ч (работа машин, маш.-ч)

Е 23-6-2

№ 35

Установка трансформаторной подстанции

шт.

1

2,5

-

2,5

-

Опытные данные ЦНИИОМТП Е 5-1-2

Установка сетчатого ограждения

м2

55

0,1

 

5,5

-

Е 1-19 № 2

Переноска инвентарных секций шинопровода (при массе секций 10 кг)

т

0,16

1,2

-

0,19

-

§ Е 23-6-16 № 3

Электромонтажные работы по соединению щитов опалубки, шинопроводов и т.п.

100 концов

5,16

7,5

-

38,7

-

Е 23-4-14 табл. 3, № 2

Проверка состояния изоляции кабеля мегомметром

1 кабель

4

0,24

-

0,96

-

Тарифно-квалификационный справочник

Предварительный отогрев арматуры и опалубки

час

2,0

1,0

-

2,0

-

Е4-1-54

№ 10

Устройство гидро- и теплоизоляции

100 м2

0,15

0,21

-

0,03

-

Тарифно-квалификационный справочник

Электрообогрев бетонной смеси

час

25,0

1,0

-

25,0

1

Е 4-1-54

№ 12

Снятие гидро- и теплоизоляции бетона из матов

100 м2

0,15

0,22

-

0,03

-

Е 23-6-16

№ 3

Электромонтажные работы по отсоединению щитов опалубки, шинопроводов и т.п.

100 концов

5,16

7,5

-

38,7

-

6.4 Затраты труда - 113,6 чел/час;

в т.ч. на 1 м3 бетона - 7,9 чел/час;

Расход электроэнергии - 931 кВт/час;

в т.ч. на 1 м3 бетона - 64,6 кВт/час;

в т.ч. на:

- отогрев опалубки и арматуры - 107,16 кВт/час;

на 1 м3 бетона - 7,7 кВт/час;

- на разогрев бетона 375,06 кВт/час;

на 1 м3 бетона - 26,0 кВт/час;

- на изотермическое выдерживание - 449,28 кВт/час;

на 1 м3 бетона - 31,2 кВт/час;

Время разогрева - 7 часов;

Скорость разогрева - 5 °С/час;

Продолжительность изотермической выдержки - 18 часов;

Время остывания - 24 часа;

Скорость остывания - 2 °С/час;

Полный цикл термической обработки - 49 ч;

Нормативная прочность к концу цикла 50 % R28.


Таблица 6

График производства работ


7 ПЕРЕЧЕНЬ ИСПОЛЬЗУЕМОЙ НОРМАТИВНО-ТЕХНИЧЕСКОЙ ЛИТЕРАТУРЫ

1 СНиП 3.01.01-85* «Организация строительного производства».

2 СНиП 3.03.01-87 «Несущие и ограждающие конструкции».

3 СНиП 12-03-2001 «Безопасность труда в строительстве. Часть 1. Общие требования».

4 СНиП 12-04-2002 «Безопасность труда в строительстве. Часть 2. Строительное производство».

5 Руководство по электротермообработке бетона. НИИЖБ Госстроя СССР, Москва, Стройиздат, 1974 г.

6 Руководство по производству бетонных работ в зимних условиях, районах Дальнего Востока, Сибири и Крайнего Севера. ЦНИИОМТП Госстроя СССР, Москва, Стройиздат, 1982 г.

7 Рекомендации по технологии возведения конструкций из монолитного бетона и железобетона, ОАО ПКТИпромстрой, М.

8 ПОТ РМ-016-2001 Межотраслевые правила по охране труда (правила безопасности) при эксплуатации электроустановок.

9 ППБ 01-93** Правила пожарной безопасности в Российской Федерации.

10 СП 12-135-2002 Безопасность труда в строительстве. Отраслевые типовые инструкции по охране труда.

11 ЕНиР Единые нормы и расценки на строительные, монтажные и ремонтно-строительные работы.

- Сборник 1. Внутрипостроечные транспортные работы.

- Сборник 4. Монтаж сборных и устройство монолитных ж. б. конструкций. Выпуск 1. Здания и промышленные сооружения.

- Сборник 23. Электромонтажные работы. Выпуск 4. Кабельные линии электропередачи. Выпуск 6. Закрытие распределительные устройства напряжением до 35 кВ.

СОДЕРЖАНИЕ