На главную | База 1 | База 2 | База 3
Испытания и Сертификация Испытательный центр Орган по сертификации Строительная экспертиза Обследование зданий Тепловизионный контроль Ультразвуковой контроль Проектные работы Контроль качества строительства Нормативные базы Государственные стандартыДекларация о соответствии Единый перечень продукции ТС Классификатор государственных стандартов Общероссийский классификатор стандартов Обязательная сертификация Окп Тематические сборники Технические регламенты РФ Технические регламенты Таможенного союзаСтроительная документацияТехническая документация

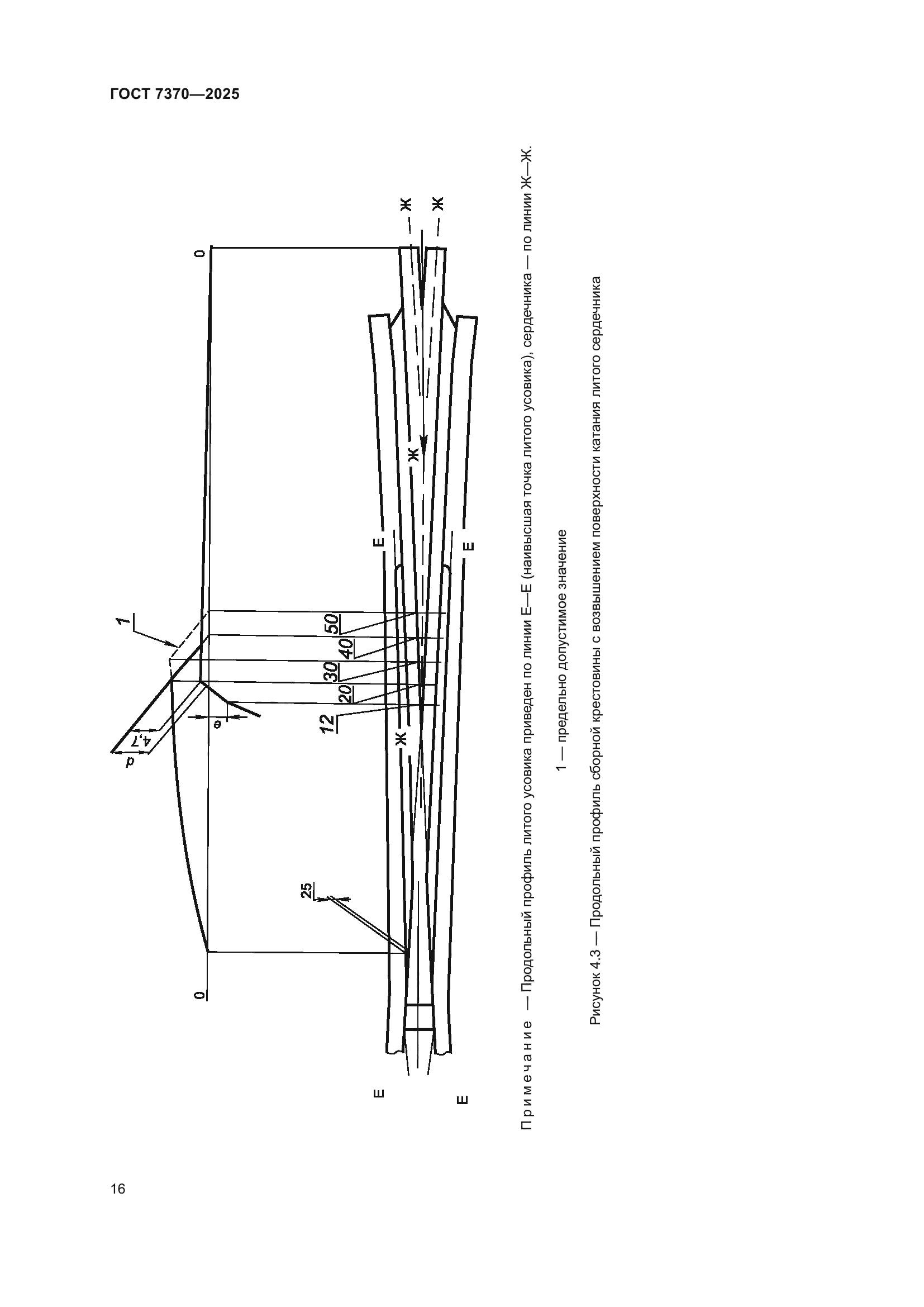
ГОСТ 7370-2025

Крестовины железнодорожные. Технические условия

Обозначение: ГОСТ 7370-2025
Статус:принят
Название рус.:Крестовины железнодорожные. Технические условия
Название англ.:Railway frogs. Specifications
Дата актуализации текста:01.01.2026
Дата актуализации описания:01.01.2026
Дата регистрации:31.03.2025
Дата издания:03.06.2025
Дата введения:01.12.2026
Взамен:ГОСТ 7370-2015
Нормативные ссылки:ГОСТ 2.601;ГОСТ Р 2.601-2019;ГОСТ 9.014;ГОСТ 10;ГОСТ 12.1.001;ГОСТ 12.1.003;ГОСТ 12.1.004;ГОСТ 12.3.020;ГОСТ 15.001;ГОСТ Р 15.301-2016;ГОСТ 15.309;ГОСТ 164;ГОСТ 166;ГОСТ 380;ГОСТ 427;ГОСТ 610 ;ГОСТ 868;ГОСТ 977;ГОСТ 1050;ГОСТ 1497;ГОСТ 2789;ГОСТ Р 71448-2024;ГОСТ 2999;ГОСТ 3749;ГОСТ 5378;ГОСТ 6507;ГОСТ 7502;ГОСТ 7565;ГОСТ 8026;ГОСТ 8908;ГОСТ 8925;ГОСТ 9012;ГОСТ 9013;ГОСТ 9031;ГОСТ 9038;ГОСТ 9450;ГОСТ 9454;ГОСТ 10877;ГОСТ 11358;ГОСТ 11530;ГОСТ 11532;ГОСТ 12344;ГОСТ 12345;ГОСТ 12346;ГОСТ 12347;ГОСТ 12348;ГОСТ 15150;ГОСТ 16016;ГОСТ 16017;ГОСТ 16018;ГОСТ 16350;ГОСТ 16504;ГОСТ 18267;ГОСТ Р 51685–2022;ГОСТ 18321–73;ГОСТ Р 50779.12-2021;ГОСТ 18353;ГОСТ Р 56542-2019;ГОСТ 18442–80;ГОСТ 18895 ;ГОСТ 19115;ГОСТ 19200;ГОСТ 19537;ГОСТ 20911;ГОСТ 21014;ГОСТ 21797;ГОСТ 22261;ГОСТ 22536.0;ГОСТ 22536.1;ГОСТ 22536.2;ГОСТ 22536.3;ГОСТ 22536.4;ГОСТ 22536.5;ГОСТ 22536.7;ГОСТ 22536.8;ГОСТ 22536.9;ГОСТ 22536.10;ГОСТ 22536.11;ГОСТ 22536.12;ГОСТ 23170;ГОСТ 23479;ГОСТ Р 58399-2019;ГОСТ 23829;ГОСТ 24182; ГОСТ Р 51685-2022;ГОСТ 24522;ГОСТ 25346;ГОСТ 25706;ГОСТ 26433.1;ГОСТ Р 58939-2020;ГОСТ 26645;ГОСТ Р 53464-2009;ГОСТ 26877;ГОСТ 28033;ГОСТ 30242;ГОСТ Р ИСО 6520-1-2012;ГОСТ 33184;ГОСТ 33187;ГОСТ 33477;ГОСТ 33535-2015;ГОСТ 33886;ГОСТ 34222;ГОСТ 34513;ГОСТ 34663;ГОСТ 34666-2020;ГОСТ ISO 898-1;ГОСТ ISO 898-2;ГОСТ Р ИСО 6520-1-2012
Область применения:Настоящий стандарт распространяется на крестовины типов Р75, Р65 и Р50 с неподвижными элементами для стрелочных переводов, съездов и глухих пересечений железнодорожного пути общего и необщего пользования
Расположен в:Государственные стандарты Общероссийский классификатор стандартов Железнодорожная техника Рельсы и компоненты железных дорог
ГОСТ 7370-2025ГОСТ 7370-2025ГОСТ 7370-2025ГОСТ 7370-2025ГОСТ 7370-2025ГОСТ 7370-2025ГОСТ 7370-2025ГОСТ 7370-2025ГОСТ 7370-2025ГОСТ 7370-2025ГОСТ 7370-2025ГОСТ 7370-2025ГОСТ 7370-2025ГОСТ 7370-2025ГОСТ 7370-2025ГОСТ 7370-2025ГОСТ 7370-2025ГОСТ 7370-2025ГОСТ 7370-2025ГОСТ 7370-2025ГОСТ 7370-2025ГОСТ 7370-2025ГОСТ 7370-2025ГОСТ 7370-2025ГОСТ 7370-2025ГОСТ 7370-2025ГОСТ 7370-2025ГОСТ 7370-2025ГОСТ 7370-2025ГОСТ 7370-2025ГОСТ 7370-2025ГОСТ 7370-2025ГОСТ 7370-2025ГОСТ 7370-2025ГОСТ 7370-2025ГОСТ 7370-2025ГОСТ 7370-2025ГОСТ 7370-2025ГОСТ 7370-2025ГОСТ 7370-2025ГОСТ 7370-2025ГОСТ 7370-2025ГОСТ 7370-2025ГОСТ 7370-2025ГОСТ 7370-2025ГОСТ 7370-2025ГОСТ 7370-2025ГОСТ 7370-2025ГОСТ 7370-2025ГОСТ 7370-2025ГОСТ 7370-2025ГОСТ 7370-2025ГОСТ 7370-2025ГОСТ 7370-2025ГОСТ 7370-2025ГОСТ 7370-2025ГОСТ 7370-2025ГОСТ 7370-2025ГОСТ 7370-2025ГОСТ 7370-2025ГОСТ 7370-2025ГОСТ 7370-2025