На главную | База 1 | База 2 | База 3
Испытания и Сертификация Испытательный центр Орган по сертификации Строительная экспертиза Обследование зданий Тепловизионный контроль Ультразвуковой контроль Проектные работы Контроль качества строительства Нормативные базы Государственные стандартыДекларация о соответствии Единый перечень продукции ТС Классификатор государственных стандартов Общероссийский классификатор стандартов Обязательная сертификация Окп Тематические сборники Технические регламенты РФ Технические регламенты Таможенного союзаСтроительная документацияТехническая документация

ГОСТ 35294.2-2025

Безопасность игрушек. Часть 2. Воспламеняемость

Обозначение: ГОСТ 35294.2-2025
Статус:принят
Название рус.:Безопасность игрушек. Часть 2. Воспламеняемость
Название англ.:Safety of toys. Part 2. Flammability
Дата актуализации текста:01.01.2026
Дата актуализации описания:01.01.2026
Дата регистрации:31.07.2025
Дата издания:18.09.2025
Дата введения:01.09.2026
Взамен:ГОСТ ISO 8124-2-2014
Содержит требования:ISO 8124-2:2023
Нормативные ссылки:ГОСТ 8420-2022;ГОСТ IEC 62115;ГОСТ EN 71-5;ГОСТ EN 71-13
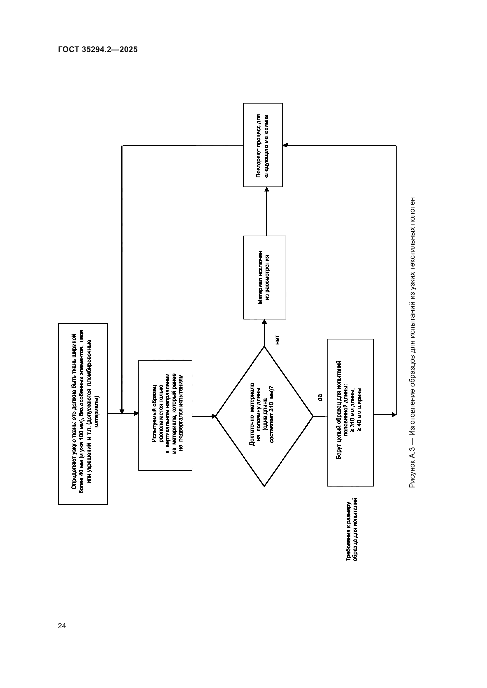
Область применения:Настоящий стандарт устанавливает категории воспламеняемых материалов, запрещенных к применению при изготовлении игрушек, и требования по воспламеняемости игрушек определенных категорий при воздействии на них малокалорийных источников зажигания. Методы испытаний, приведенные в разделе 5, могут быть использованы для определения воспламеняемости игрушек при регламентированных условиях испытаний. Полученные таким образом результаты испытаний не могут быть применены для оценки потенциальной возможности возникновения пожара при воздействии на игрушки или материалы других (более мощных) источников зажигания. Настоящий стандарт включает в себя общие требования ко всем игрушкам и особые требования и методы испытаний, применяемые к игрушкам, представляющим наибольший риск при их использовании. К таким игрушкам относят: - игрушки, надеваемые на голову ребенка (бороды, усы, парики и т. д.): изготовленные из искусственных волос, меха или материалов со сходными характеристиками; формованные и текстильные маски; капюшоны, головные уборы и т. д.; ниспадающие элементы игрушек, укрепляемые на голове; - маскарадные костюмы и другие аналогичные атрибуты, надеваемые ребенком во время игры; - игрушки, предназначенные для использования ребенком и изготовленные из текстиля и/или полимерных слоев и пленок (игрушки, внутри которых может поместиться ребенок); - мягконабивные игрушки (фигурки животных, куклы и т. д.) с оболочками (чехлами) из текстильного материала или искусственного меха
Расположен в:Государственные стандарты Общероссийский классификатор стандартов Бытовая техника и торговое оборудование. Отдых. Спорт Оборудование для отдыха Игрушки
ГОСТ 35294.2-2025ГОСТ 35294.2-2025ГОСТ 35294.2-2025ГОСТ 35294.2-2025ГОСТ 35294.2-2025ГОСТ 35294.2-2025ГОСТ 35294.2-2025ГОСТ 35294.2-2025ГОСТ 35294.2-2025ГОСТ 35294.2-2025ГОСТ 35294.2-2025ГОСТ 35294.2-2025ГОСТ 35294.2-2025ГОСТ 35294.2-2025ГОСТ 35294.2-2025ГОСТ 35294.2-2025ГОСТ 35294.2-2025ГОСТ 35294.2-2025ГОСТ 35294.2-2025ГОСТ 35294.2-2025ГОСТ 35294.2-2025ГОСТ 35294.2-2025ГОСТ 35294.2-2025ГОСТ 35294.2-2025ГОСТ 35294.2-2025ГОСТ 35294.2-2025ГОСТ 35294.2-2025ГОСТ 35294.2-2025ГОСТ 35294.2-2025ГОСТ 35294.2-2025ГОСТ 35294.2-2025ГОСТ 35294.2-2025ГОСТ 35294.2-2025ГОСТ 35294.2-2025ГОСТ 35294.2-2025ГОСТ 35294.2-2025