На главную | База 1 | База 2 | База 3
Испытания и Сертификация Испытательный центр Орган по сертификации Строительная экспертиза Обследование зданий Тепловизионный контроль Ультразвуковой контроль Проектные работы Контроль качества строительства Нормативные базы Государственные стандартыДекларация о соответствии Единый перечень продукции ТС Классификатор государственных стандартов Общероссийский классификатор стандартов Обязательная сертификация Окп Тематические сборники Технические регламенты РФ Технические регламенты Таможенного союзаСтроительная документацияТехническая документация

ГОСТ Р 72309-2025

Гидроэлектростанции. Контроль крепежных элементов ответственных узлов гидроагрегатов. Методические указания

Обозначение: ГОСТ Р 72309-2025
Статус:действует
Название рус.:Гидроэлектростанции. Контроль крепежных элементов ответственных узлов гидроагрегатов. Методические указания
Название англ.:Hydroelectric power plants. Control of fasteners responsible nodes of hydraulic units. Methodical instructions
Дата актуализации текста:01.01.2026
Дата актуализации описания:01.01.2026
Дата издания:30.10.2025
Дата введения:01.12.2025
Нормативные ссылки:ГОСТ 8.398;ГОСТ 12.1.001;ГОСТ 12.1.004;ГОСТ 12.1.005;ГОСТ 12.2.003;ГОСТ 12.3.002;ГОСТ 2789;ГОСТ 4543;ГОСТ 9378;ГОСТ 10602;ГОСТ 16504;ГОСТ 18442;ГОСТ 22761;ГОСТ 23956;ГОСТ 24705;ГОСТ 28033;ГОСТ ISO 6157-1;ГОСТ ISO 6157-2;ГОСТ ISO 6157-3;ГОСТ ISO 16426;ГОСТ Р 27.102;ГОСТ Р 54153;ГОСТ Р 55080;ГОСТ Р 55260.2.1;ГОСТ Р 55260.2.2;ГОСТ Р 55260.3.1;ГОСТ Р 55260.3.2;ГОСТ Р 55611;ГОСТ Р 55724;ГОСТ Р 55725;ГОСТ Р ЕН 13018;ГОСТ Р ИСО 15549;СП 49.13330
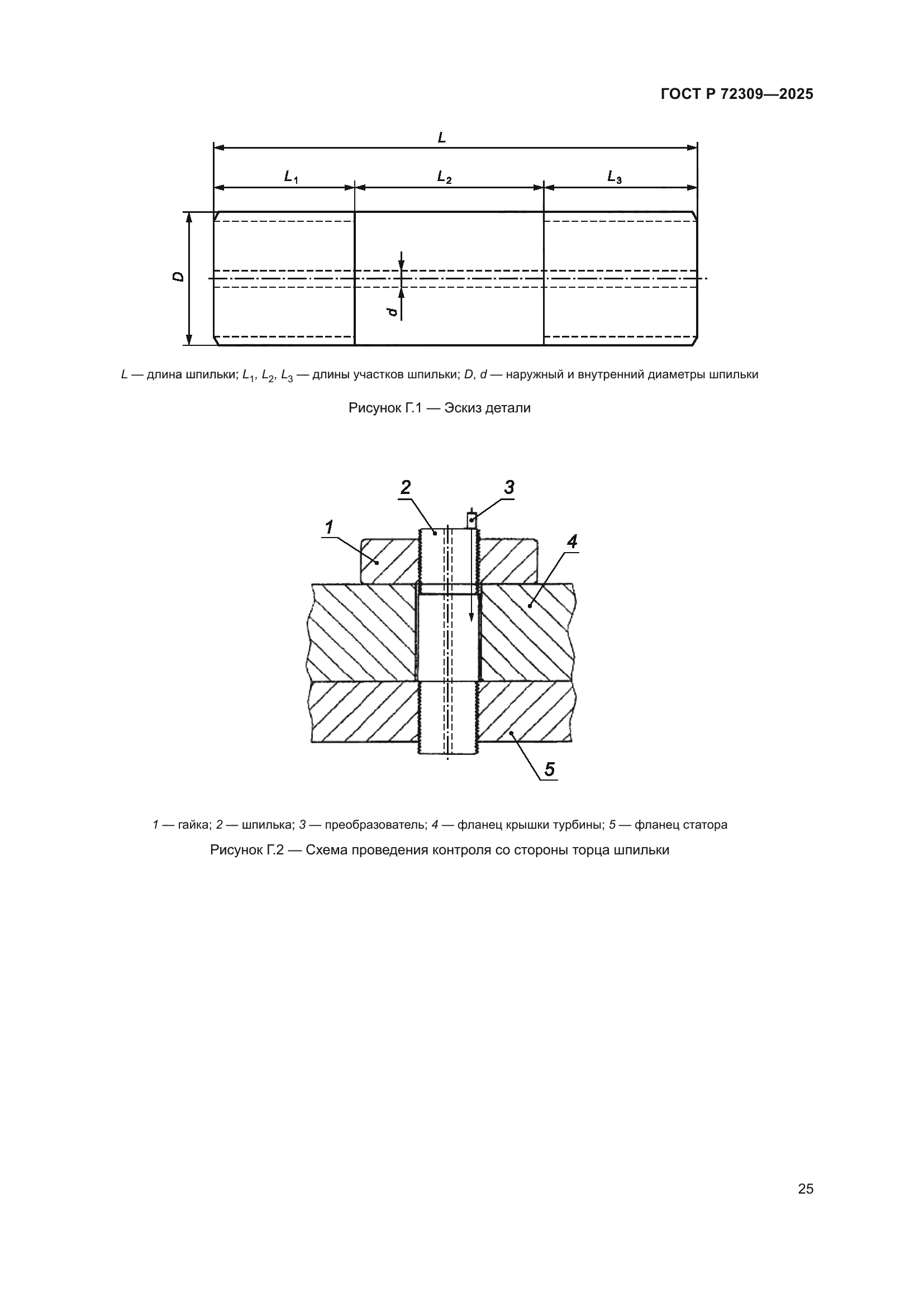
Область применения:Настоящий стандарт устанавливает технические и организационные требования к проведению контроля крепежных элементов ответственных узлов гидроагрегатов, воспринимающих усилия с водопроводящего тракта, при периодических технических осмотрах, технических освидетельствованиях, технических обследованиях, ремонтных работах и реконструкции гидроагрегатов. Настоящий стандарт распространяется на крепежные элементы ответственных узлов гидроагрегатов вертикального и горизонтального исполнения, воспринимающие усилия с водопроводящего тракта, а именно: болты, шпильки и гайки для фланцевых соединений, соединительных элементов и деталей гидроагрегатов, изготовленные из сталей перлитного класса. Настоящий стандарт распространяется также на детали и узлы гидроагрегатов, работающие, как крепежные изделия. Настоящий стандарт формирует единые требования и регулирует названные выше процессы и процедуры, определяет нормы и объем контроля крепежных элементов ответственных узлов гидроагрегатов, воспринимающих усилия с водопроводящего тракта, минимально необходимые для оценки исправности и/или работоспособности контролируемых крепежных элементов, а также для принятия решений о возможности их дальнейшей эксплуатации или необходимости замены. Требования настоящего стандарта распространяются на организации, ответственные за эксплуатацию гидроагрегатов, а также организации или физические лица, выполняющие работы (оказывающие услуги) в области его применения на объектах, расположенных на территории Российской Федерации, если данное обязательство отражено в заключаемых с ними договорах. Настоящий стандарт не учитывает все возможные особенности исполнения его требований на разнотипном оборудовании
Расположен в:Государственные стандарты Общероссийский классификатор стандартов Энергетика и теплотехника Гидроэнергетика
ГОСТ Р 72309-2025ГОСТ Р 72309-2025ГОСТ Р 72309-2025ГОСТ Р 72309-2025ГОСТ Р 72309-2025ГОСТ Р 72309-2025ГОСТ Р 72309-2025ГОСТ Р 72309-2025ГОСТ Р 72309-2025ГОСТ Р 72309-2025ГОСТ Р 72309-2025ГОСТ Р 72309-2025ГОСТ Р 72309-2025ГОСТ Р 72309-2025ГОСТ Р 72309-2025ГОСТ Р 72309-2025ГОСТ Р 72309-2025ГОСТ Р 72309-2025ГОСТ Р 72309-2025ГОСТ Р 72309-2025ГОСТ Р 72309-2025ГОСТ Р 72309-2025ГОСТ Р 72309-2025ГОСТ Р 72309-2025ГОСТ Р 72309-2025ГОСТ Р 72309-2025ГОСТ Р 72309-2025ГОСТ Р 72309-2025ГОСТ Р 72309-2025ГОСТ Р 72309-2025ГОСТ Р 72309-2025ГОСТ Р 72309-2025ГОСТ Р 72309-2025ГОСТ Р 72309-2025ГОСТ Р 72309-2025ГОСТ Р 72309-2025