| Обозначение: |  ГОСТ Р 72446-2025 |
| Статус: | действует |
| Название рус.: | Блоки оконные пулестойкие. Общие технические требования и методы испытаний на противопульную стойкость |
| Название англ.: | Bulletproof window blocks. General technical requirements and test methods for bulletproof resistance |
| Дата актуализации текста: | 01.01.2026 |
| Дата актуализации описания: | 01.01.2026 |
| Дата издания: | 12.12.2025 |
| Дата введения: | 10.12.2025 |
| Нормативные ссылки: | ГОСТ 618; ГОСТ 5089; ГОСТ 7933; ГОСТ 14192; ГОСТ 15150; ГОСТ 21140; ГОСТ 23166; ГОСТ 23170; ГОСТ 24297; ГОСТ 28653; ГОСТ 30826; ГОСТ 32566; ГОСТ Р 2.601; ГОСТ Р 51112; ГОСТ Р 51221 |
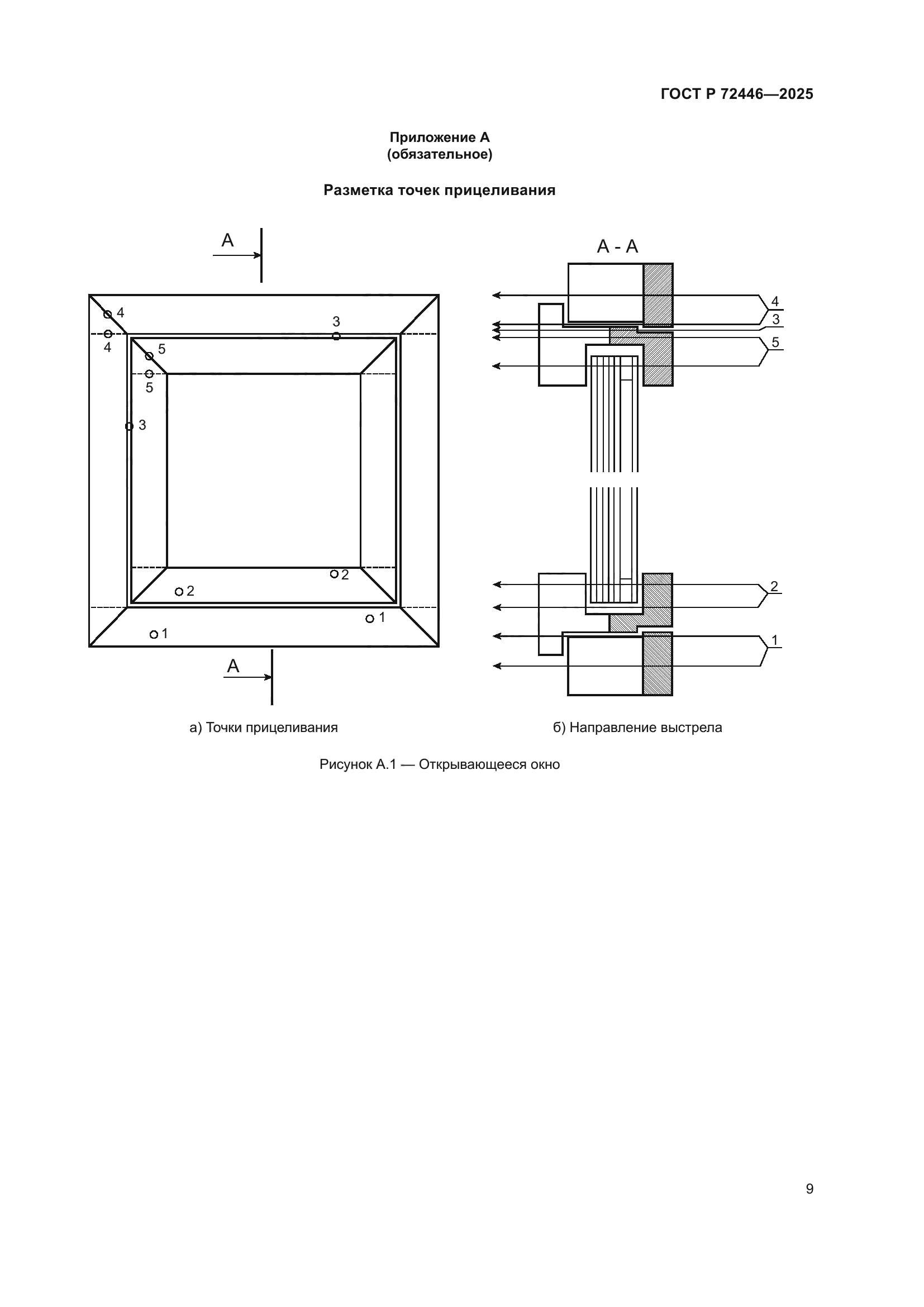
| Область применения: | Настоящий стандарт распространяется на пулестойкие оконные блоки (далее – блоки), предназначенные для защиты людей и материальных ценностей от воздействия средств поражения стрелкового оружия. Настоящий стандарт устанавливает общие технические требования к блокам, необходимые для их разработки, изготовления и испытаний, а также методы их испытаний на противопульную стойкость |
|
| Расположен в: |
|