| Обозначение: |  ГОСТ Р 72397-2025 |
| Статус: | принят |
| Название рус.: | Конструкции судовые металлические. Соединения сварные из сплавов на медной основе. Методика оценки технологической прочности при сварке |
| Название англ.: | Ship metal structures. Welded joints from copper-based alloys. Assessment of technological strength during welding. Methodology |
| Дата актуализации текста: | 01.01.2026 |
| Дата актуализации описания: | 01.01.2026 |
| Дата издания: | 17.12.2025 |
| Дата введения: | 01.04.2026 |
| Нормативные ссылки: | ГОСТ 12.2.009; ГОСТ 12.3.002; ГОСТ 12.3.003; ГОСТ 12.3.004; ГОСТ 61; ГОСТ 1497; ГОСТ 2184; ГОСТ 2652; ГОСТ 3118; ГОСТ 4147; ГОСТ 4461; ГОСТ 6996; ГОСТ 9651; ГОСТ 10157; ГОСТ 17435; ГОСТ 20478; ГОСТ 23949; ГОСТ 25706; ГОСТ Р 58904; ГОСТ Р 58905 |
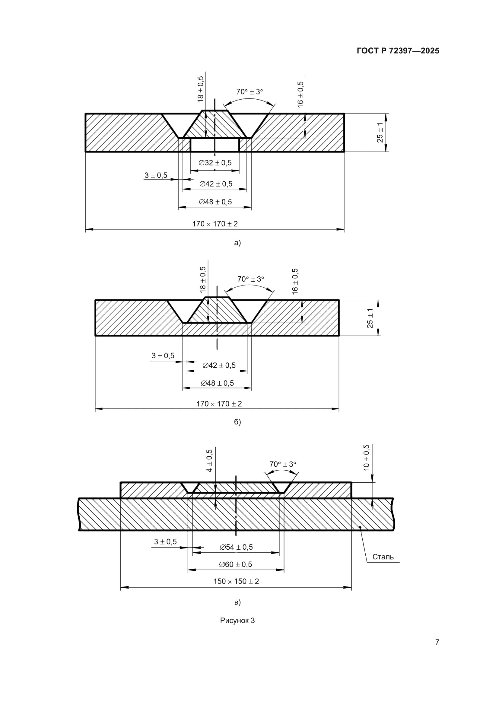
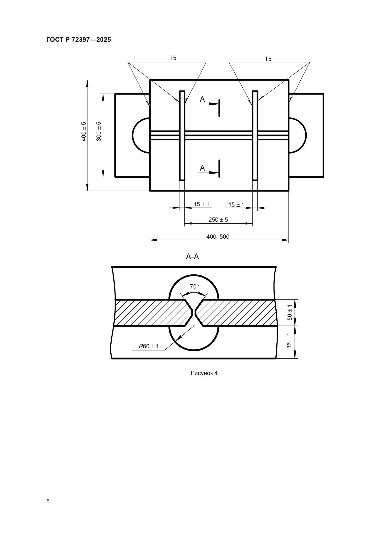
| Область применения: | Настоящий стандарт устанавливает методы оценки технологической прочности металла шва и зоны термического влияния при электродуговой сварке сплавов на медной основе. Методы испытаний, предусмотренные в настоящем стандарте, применяют при проведении исследовательских испытаний по оценке свариваемости металла |
|
| Расположен в: |
|