| Обозначение: |  ГОСТ 8995-2025 |
| Статус: | действует |
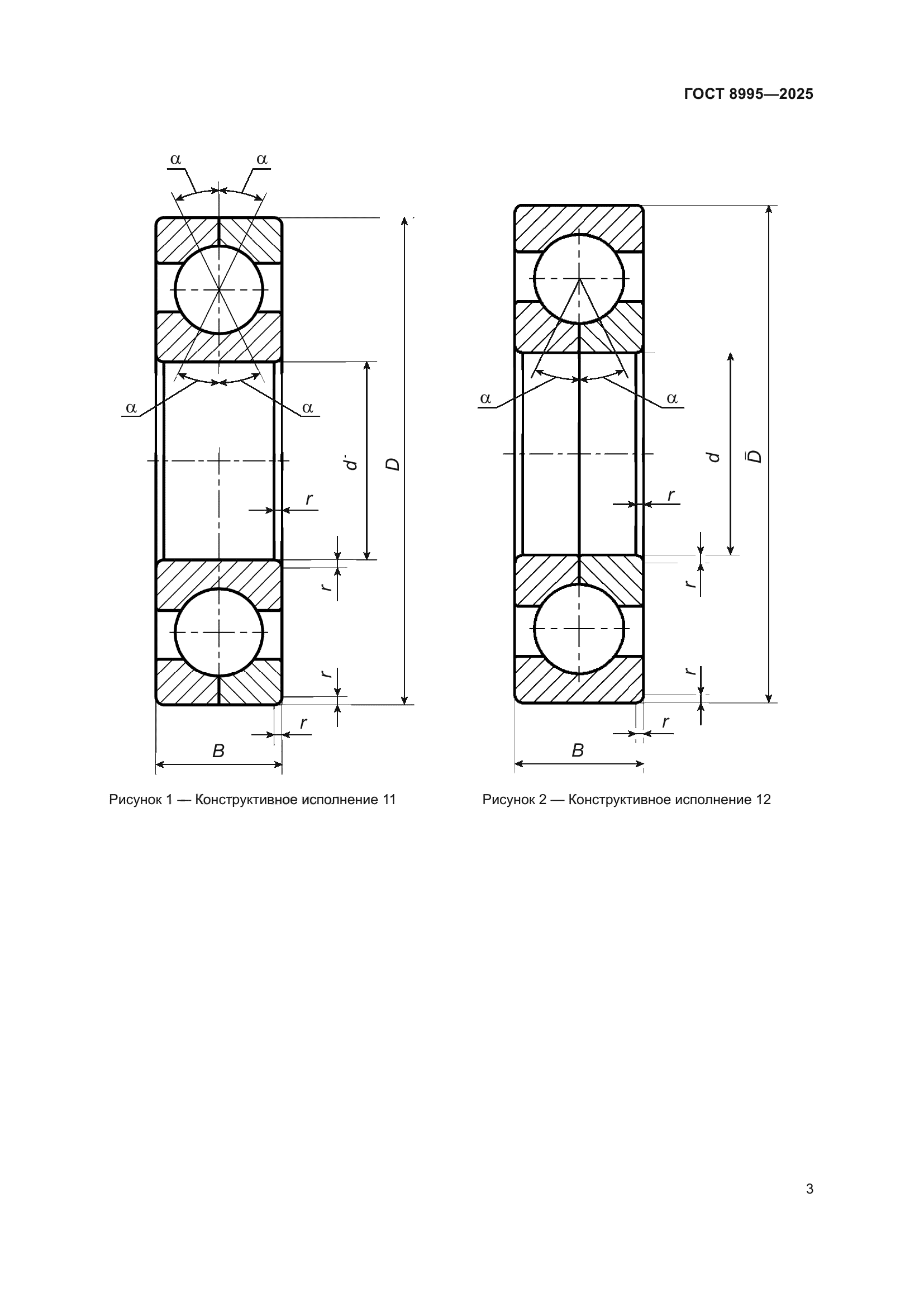
| Название рус.: | Подшипники качения. Подшипники шариковые радиально-упорные однорядные с полукольцами. Классификация, указания по применению и эксплуатации |
| Название англ.: | Rolling bearings. Single row angular contact ball bearings with semi-rings. Classification, guidance for application and exploitation |
| Дата актуализации текста: | 01.01.2026 |
| Дата актуализации описания: | 01.01.2026 |
| Дата регистрации: | 31.07.2025 |
| Дата издания: | 22.08.2025 |
| Дата введения: | 01.12.2025 |
| Взамен: | ГОСТ 8995-75 |
| Нормативные ссылки: | ГОСТ 520; ГОСТ 3189; ГОСТ 3325; ГОСТ 3478; ГОСТ 24955; ГОСТ 25256 |
| Область применения: | Настоящий стандарт распространяется на шариковые радиально-упорные однорядные подшипники с наружными или внутренними полукольцами, изготавливаемые по ГОСТ 520, и устанавливает их классификацию по конструктивным исполнениям и присоединительным размерам, указания по применению и эксплуатации |
|
| Расположен в: |
|