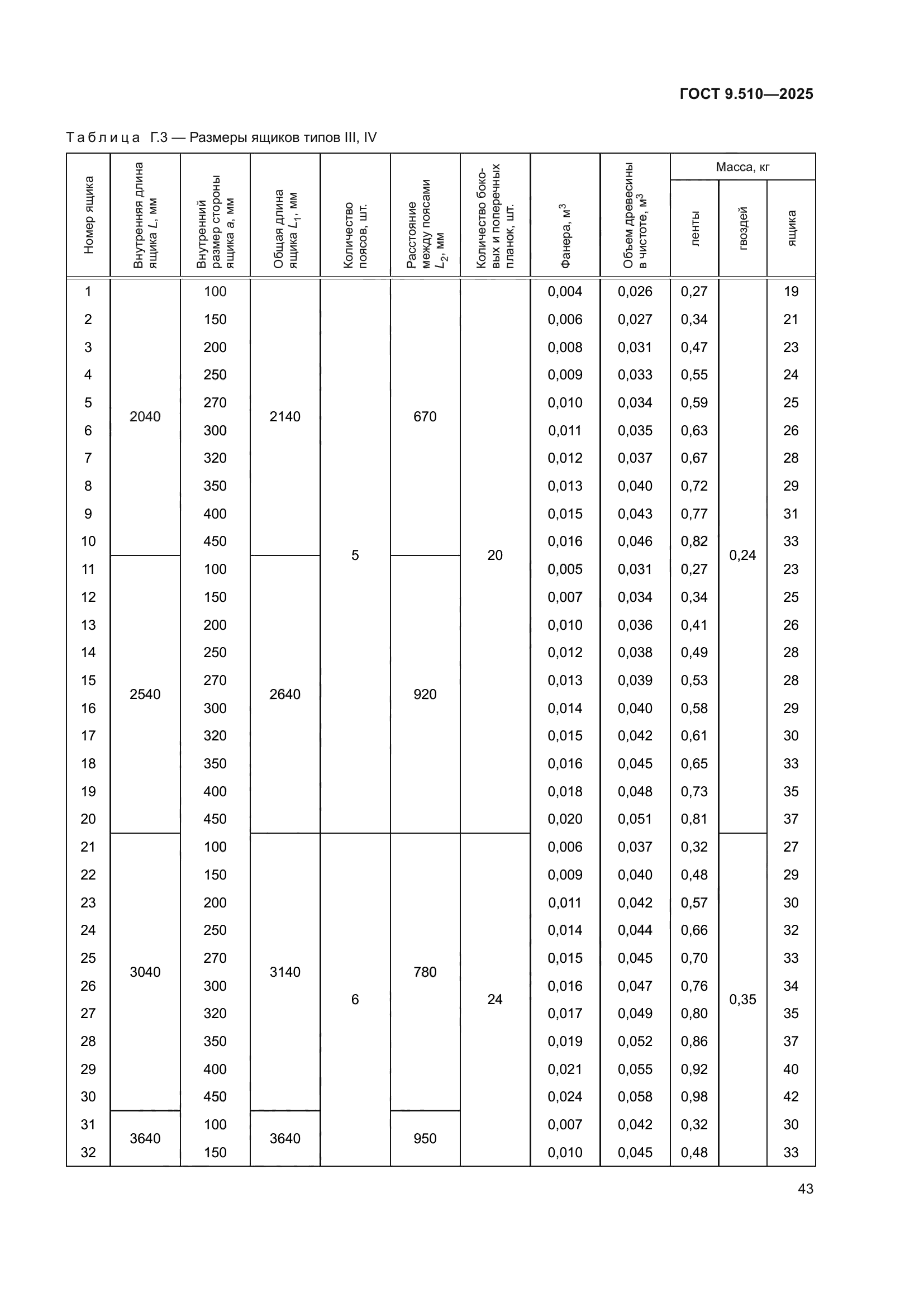
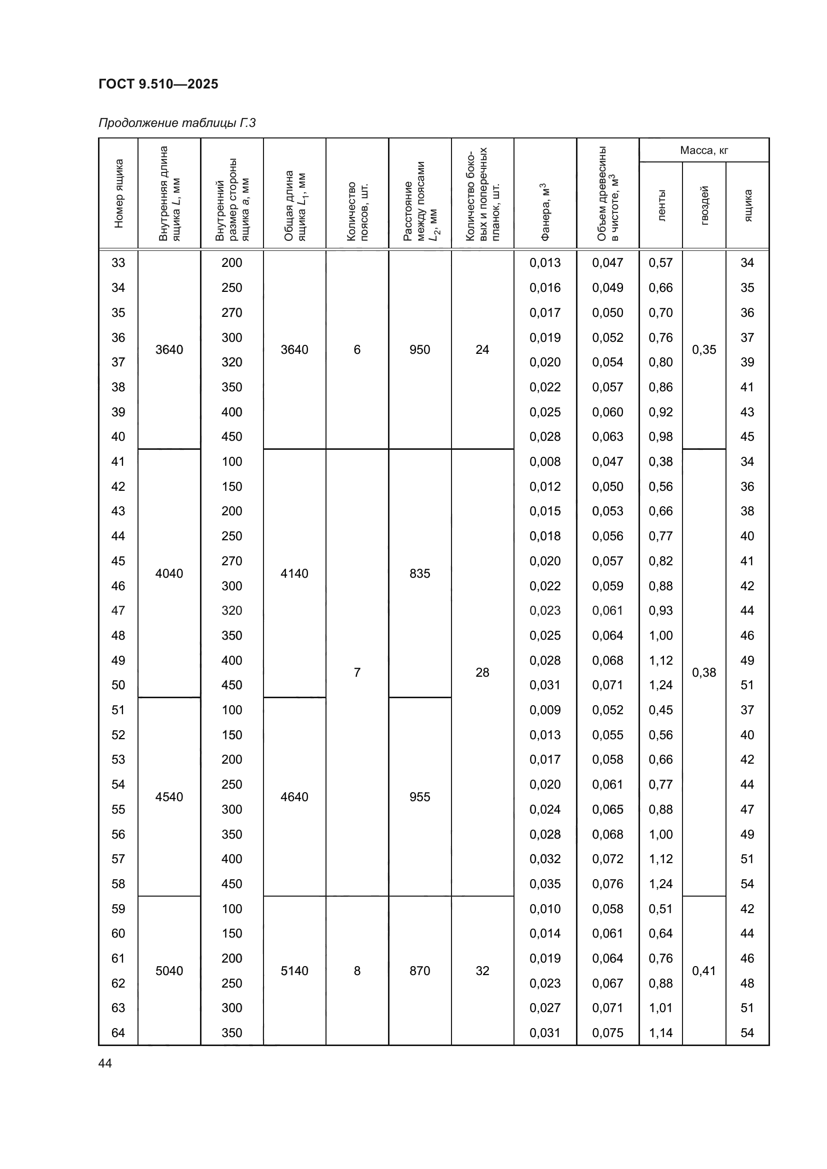
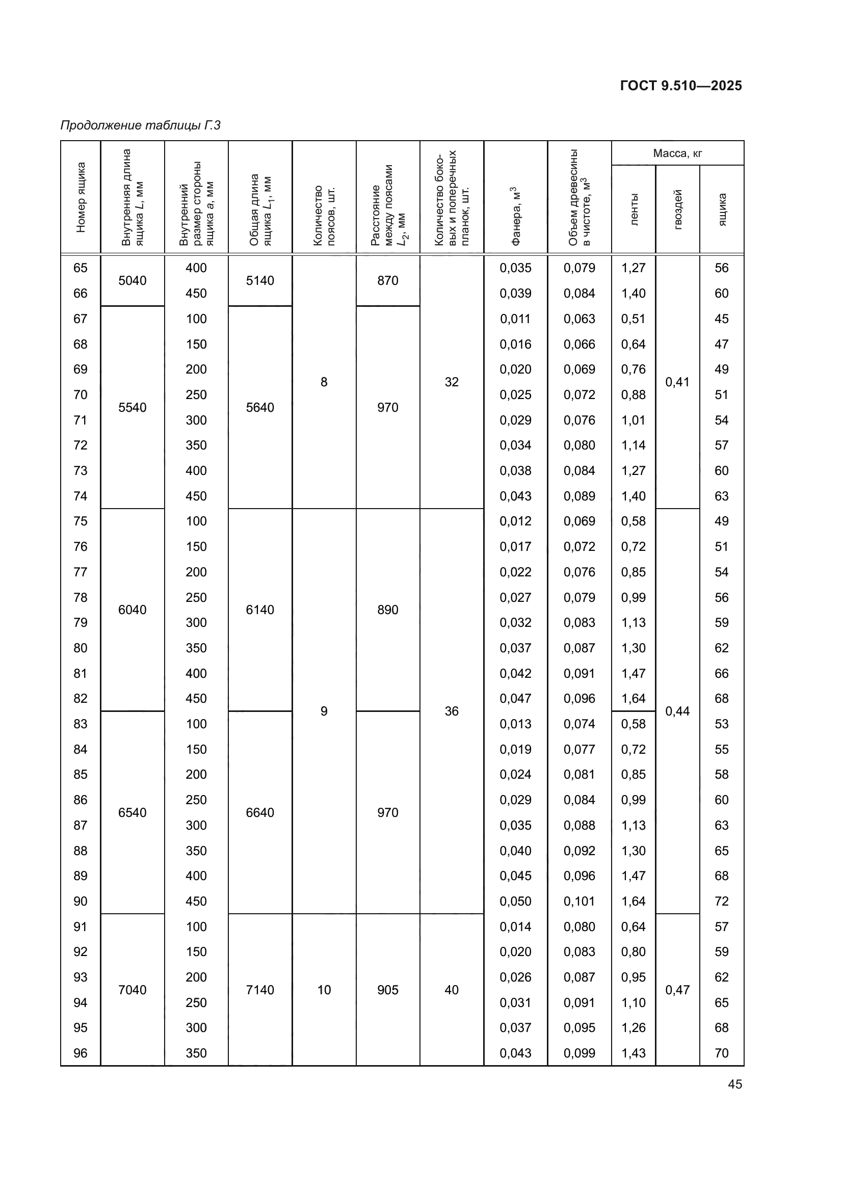
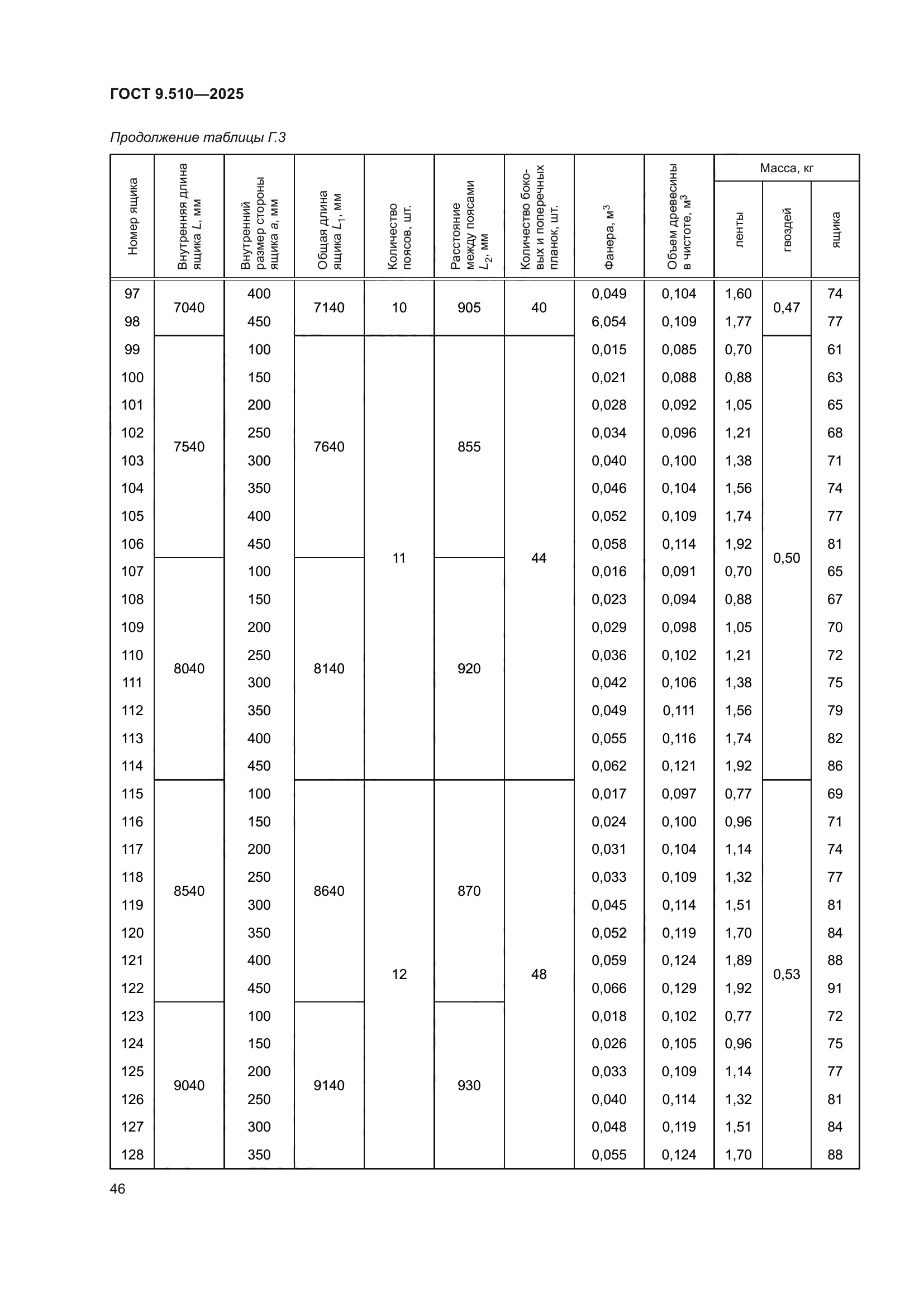
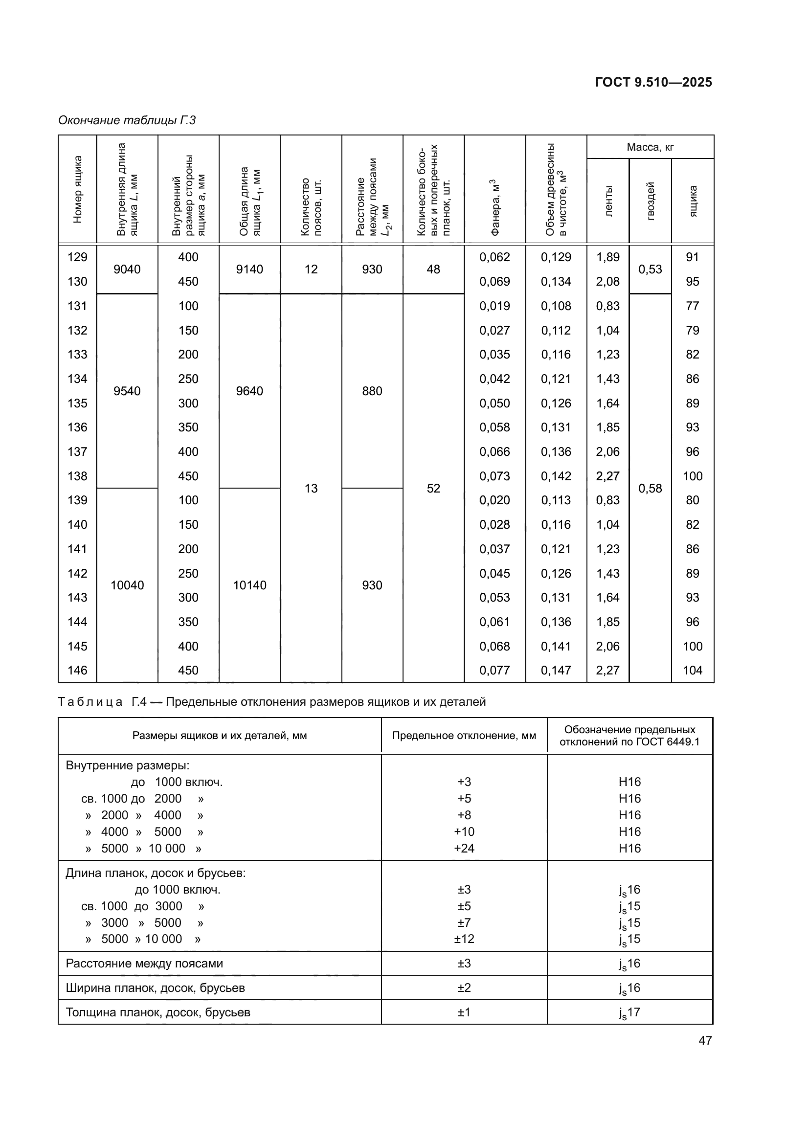
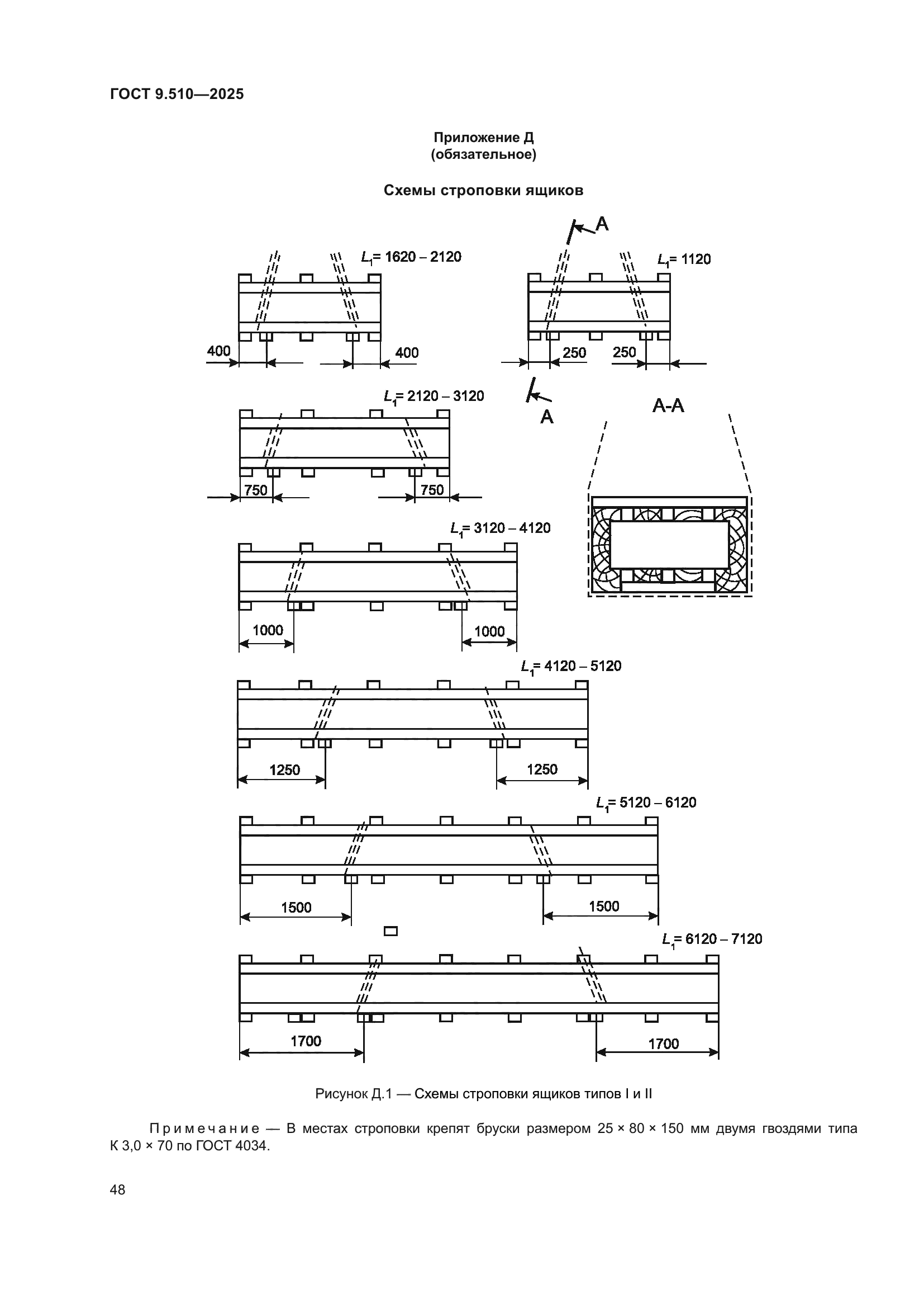
|
||||||||||||||||||||||||||||||
| Обозначение: | ![]() ГОСТ 9.510-2025 |
| Статус: | принят |
| Название рус.: | Единая система защиты от коррозии и старения. Временная противокоррозионная защита полуфабрикатов из алюминия и алюминиевых сплавов. Общие требования к временной противокоррозионной защите, упаковке, транспортированию и хранению |
| Название англ.: | Unified system of corrosion and ageing protection. Temporary anticorrosire protection of aluminium and aluminium alloys semifinished products. General requirements for temporary anticorrosive protection, packing, transportation and storage |
| Дата актуализации текста: | 01.01.2026 |
| Дата актуализации описания: | 01.01.2026 |
| Дата регистрации: | 31.07.2025 |
| Дата издания: | 27.08.2025 |
| Дата введения: | 01.05.2026 |
| Взамен: | ГОСТ 9.510-93 |
| Нормативные ссылки: | ГОСТ 9.010; ГОСТ 9.014-78; ГОСТ 9.031; ГОСТ 9.103; ГОСТ 9.106; ГОСТ 12.1.004; ГОСТ 12.1.007; ГОСТ 12.4.011; ГОСТ 12.4.016; ГОСТ 12.4.021; ГОСТ 12.4.103; ГОСТ 201; ГОСТ 202; ГОСТ 515; ГОСТ 645; ГОСТ 745; ГОСТ 1012; ГОСТ 1131; ГОСТ 1760; ГОСТ 1931; ГОСТ 2199; ГОСТ 2228; ГОСТ 2263; ГОСТ 2477; ГОСТ 2488; ГОСТ 2695; ГОСТ 2991; ГОСТ 3134; ГОСТ 3282; ГОСТ 3553; ГОСТ 3560; ГОСТ 3916.1; ГОСТ 3956; ГОСТ 4028; ГОСТ 4034; ГОСТ 4598; ГОСТ 4784; ГОСТ 5100; ГОСТ 5530; ГОСТ 5959; ГОСТ 6009; ГОСТ 6370; ГОСТ 6416; ГОСТ 6449.1; ГОСТ 6659; ГОСТ 6707; ГОСТ 7016; ГОСТ 8273; ГОСТ 8433; ГОСТ 8486; ГОСТ 8505; ГОСТ 8828; ГОСТ 9569; ГОСТ 9570; ГОСТ 10198; ГОСТ 10354; ГОСТ 10396; ГОСТ 10877; ГОСТ 10935; ГОСТ 11362; ГОСТ 11836; ГОСТ 13078; ГОСТ 13726; ГОСТ 13843; ГОСТ 14117; ГОСТ 14192; ГОСТ 14838; ГОСТ 15102; ГОСТ 15150; ГОСТ 15171; ГОСТ 15846; ГОСТ 16295; ГОСТ 16299; ГОСТ 16711; ГОСТ 17308; ГОСТ 17527; ГОСТ 18338; ГОСТ 18477; ГОСТ 18617; ГОСТ 19113; ГОСТ 19537; ГОСТ 19667; ГОСТ 20435; ГОСТ 20799; ГОСТ 21488; ГОСТ 21650; ГОСТ 22225; ГОСТ 22831; ГОСТ 23436; ГОСТ 24297; ГОСТ 24454; ГОСТ 24597; ГОСТ 24634; ГОСТ 29231; ГОСТ 30090; ГОСТ 30302; ГОСТ 33757;ГОСТ ISO 1346; ГОСТ Р 55064-2012 |
| Область применения: | Настоящий стандарт распространяется на полуфабрикаты из алюминия и алюминиевых сплавов (далее — полуфабрикаты) и устанавливает общие требования к выбору средств временной противокоррозионной защиты, упаковке, транспортированию и хранению |
| Расположен в: | |





















































