|
||||||||||||||||||||||||||||||||||||||||||
| Обозначение: | ![]() ГОСТ 31447-2012 |
| Статус: | действует |
| Название рус.: | Трубы стальные сварные для магистральных газопроводов, нефтепроводов и нефтепродуктопроводов. Технические условия |
| Название англ.: | Steel weldes pipes for trunk gas pipelines, oil pipelines and oil products pipelines. Specifications |
| Дата актуализации текста: | 01.01.2026 |
| Дата актуализации описания: | 01.06.2025 |
| Дата регистрации: | 15.03.2012 |
| Дата издания: | 17.12.2013 |
| Дата введения: | 01.01.2015 |
| Нормативные ссылки: | ГОСТ ИСО 10124-2002; ГОСТ ИСО 10332-2002; ГОСТ 8.315-97; ГОСТ 162-90; ГОСТ 166-89; ГОСТ 380-2005; ГОСТ 1497-84; ГОСТ 5378-88; ГОСТ 6507-90; ГОСТ 6996-66; ГОСТ 7502-98; ГОСТ 7565-81; ГОСТ 8695-75; ГОСТ 9454-78; ГОСТ 10006-80; ГОСТ 11358-89; ГОСТ 12344-2003; ГОСТ 12345-2001; ГОСТ 12346-78; ГОСТ 12347-77; ГОСТ 12348-78; ГОСТ 12349-83; ГОСТ 12350-78; ГОСТ 12351-2003; ГОСТ 12352-81; ГОСТ 12354-81; ГОСТ 12355-78; ГОСТ 12356-81; ГОСТ 12357-84; ГОСТ 12358-2002; ГОСТ 12359-99; ГОСТ 12360-82; ГОСТ 12361-2002; ГОСТ 12362-79; ГОСТ 16523-97; ГОСТ 17745-90; ГОСТ 18442-80; ГОСТ 18895-97; ГОСТ 19903-74; ГОСТ 21105-87; ГОСТ 22536.0-87; ГОСТ 28033-89; ГОСТ 30432-96; ГОСТ 26877;ГОСТ ISO 10893-12; ГОСТ 1050; ГОСТ 3845; ГОСТ 10692; ГОСТ 14637; ГОСТ 19281; ГОСТ 30456 |
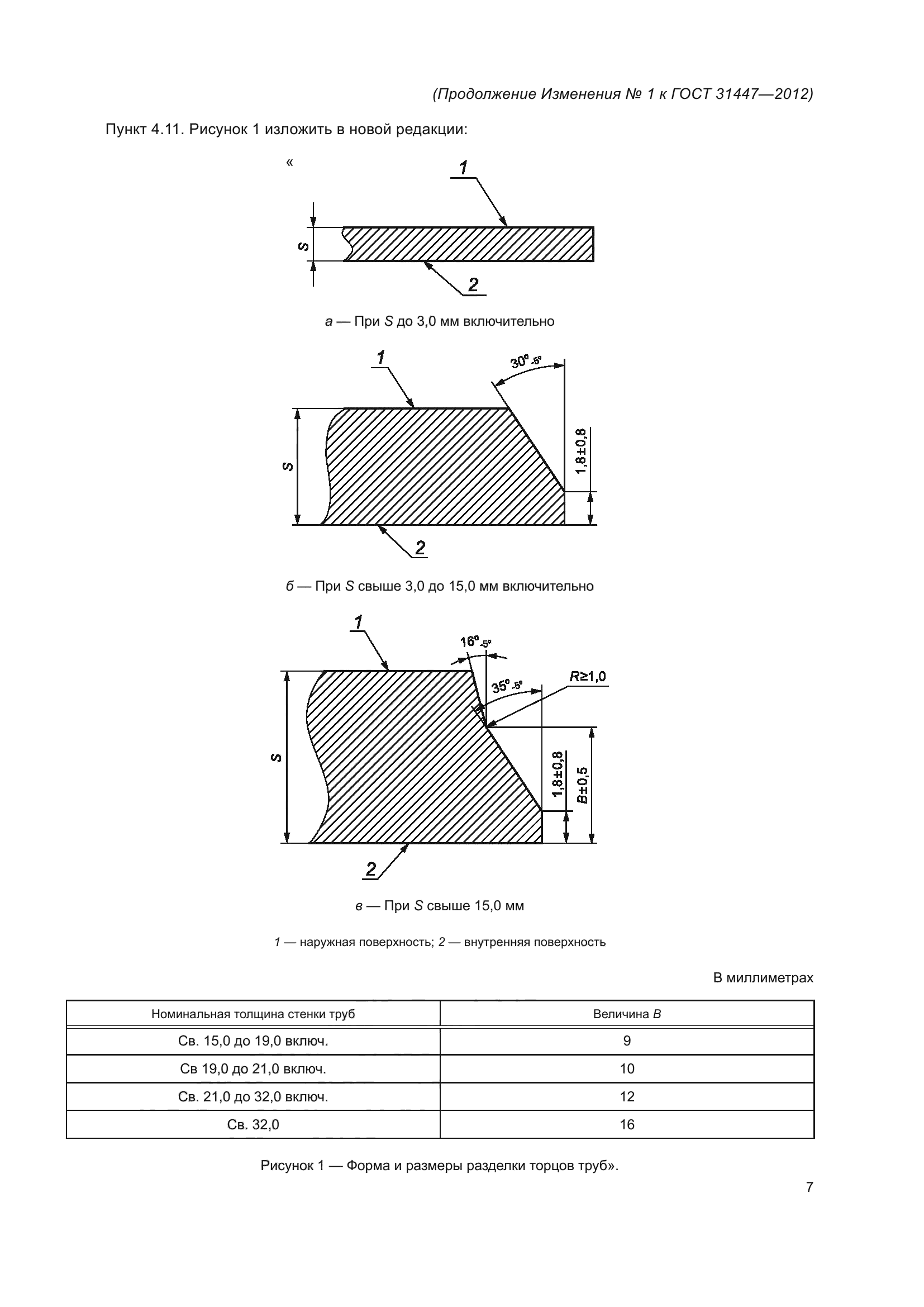
| Область применения: | Настоящий стандарт распространяется на стальные сварные прямошовные и спирально - шовные трубы диаметром 114 - 1420 мм, применяемые для строительства и ремонта магистральных газопроводов, нефтепроводов и нефтепродуктопроводов, транспортирующих некоррозионно - активные продукты (природный газ, нефть и нефтепродукты) при избыточном рабочем давлении до 9,8 МПа (100 кгс/см в квадрате) и температуре окружающей среды до минус 60 град. С |
| Список изменений: | №0 от 23.08.2015 (рег. 23.08.2015) «Дата введения перенесена» |
| Приложение №1: | Изменение №1 к ГОСТ 31447-2012 |
| Приложение №2: | Поправка к ГОСТ 31447-2012 |
| Расположен в: | |

















































| Обозначение: | Изменение №1 к ГОСТ 31447-2012 |
| Дата введения: | 01.06.2025 |












| Обозначение: | Поправка к ГОСТ 31447-2012 |
| Дата введения: | 24.08.2015 |
